Curiosii for ever!
: Car repair manuals for everyone.
Home
>>
Saturn Truck
>>
2003
>>
VUE L4-2.2L VIN D
>>
Repair and Diagnosis
>>
Powertrain Management
>>
Computers and Control Systems
>>
Engine Control Module
>>
Diagrams
>>
C1
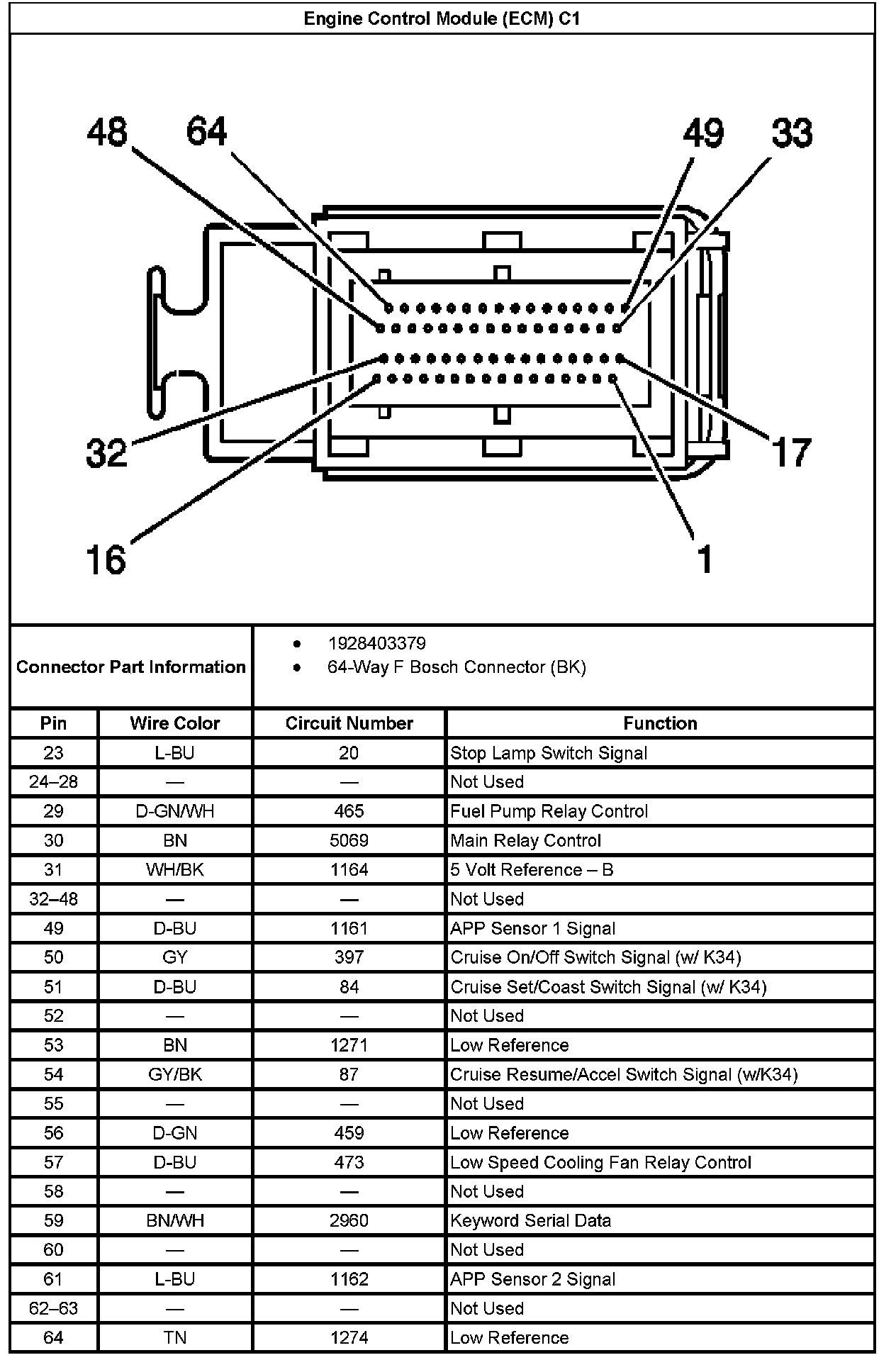
C1
Engine Control Module (ECM) C1 Part 1:
Engine Control Module (ECM) C1 Part 2: