Curiosii for ever!: Car repair manuals for everyone.

Design Specifications


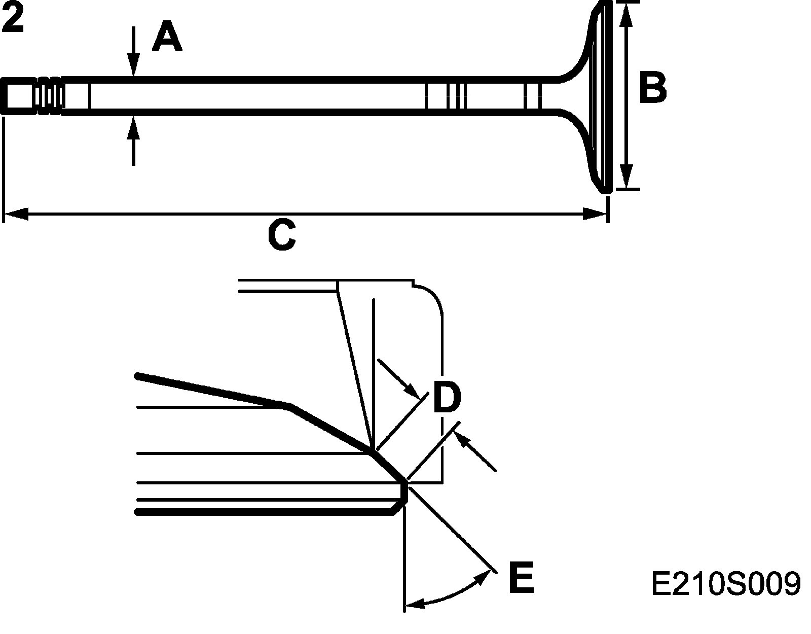
Valve gear





1. Exhaust valve
2. Inlet valve





Valve guides





Maximum lateral clearance between valve stem and valve guide





Clearance is measured at the disc with the valve pulled out 3 mm from the seat.





Valve springs (double springs)





Tappets