Curiosii for ever!: Car repair manuals for everyone.

Power Supply






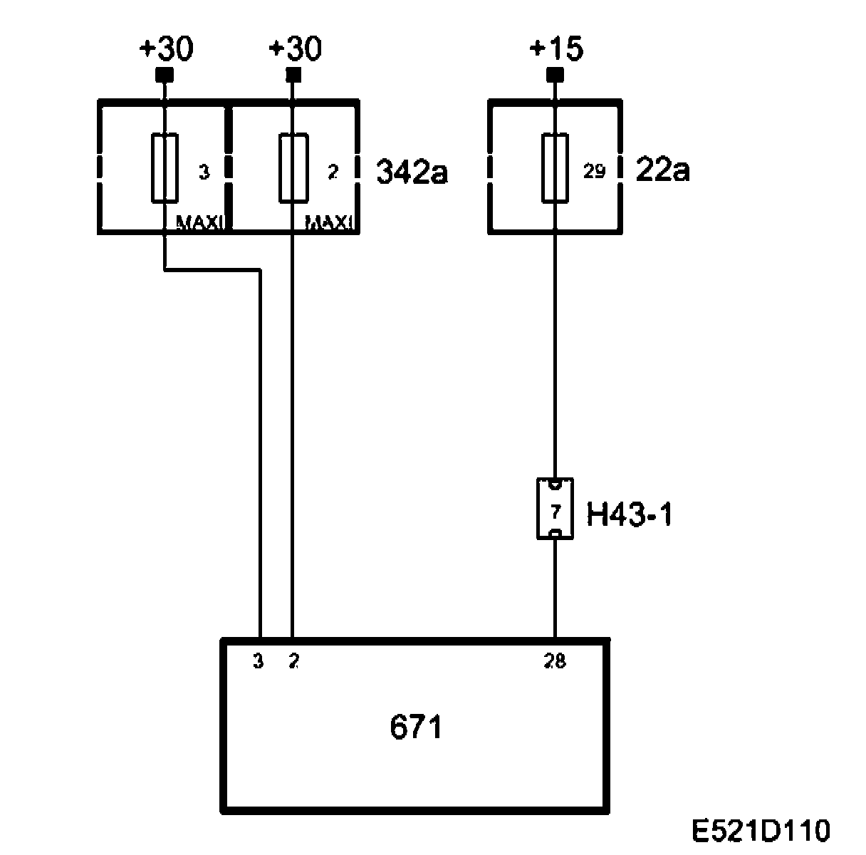
Diagram:






Power Supply

Battery voltage (+30 circuit)
+30 voltage is supplied via Maxi fuses 2 and 3 (342a) to pins 2 and 3 respectively on the control module.

Battery voltage (+15 circuit)
+15 voltage is supplied via fuse 29 (22a) to pin 28 on the control module.