Curiosii for ever!: Car repair manuals for everyone.

5D



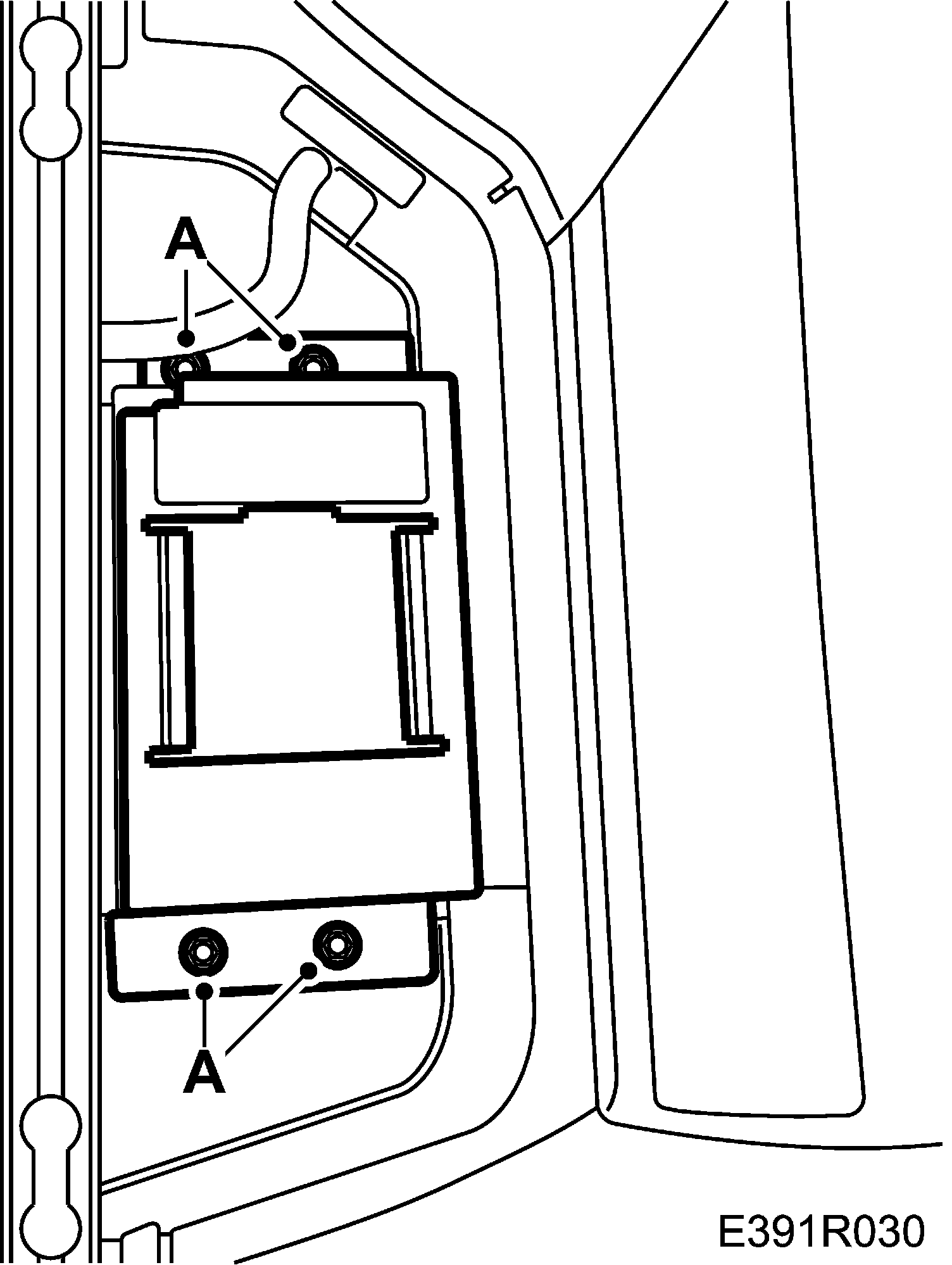
Control Module, OnStar (5D)

NOTE: The OnStar control module has a 10 digit station code (STID) as well as an 11 digit electronic serial number (ESN). These numbers are used by the National Cellular Network and OnStar in order to identify the vehicle. As these numbers are connected to the car, the unit must not be exchanged with a unit from another car.

Removal

1. Remove the key from the ignition switch.
2. Remove the cover from the RH side of the luggage compartment.
3. Remove the bracket (A).







4. Open the floor hatch and hang it up. Lift out the storage box, if fitted.
5. Unplug the control module connector (A).







6. Lift away the control module (B).

Refitting

1. When replacing a unit: Make a note of the 10 digit station code (STID) and the 11 digit serial number (ESN) which are to be found on the new unit's label.
2. Place the control module (B) in the correct position. Make sure that the wiring harness is not pinched.
3. Plug in the control module connector (A).







4. Replace the storage box, if fitted, and close the floor hatch.
5. Fit the bracket (A).







6. Clear diagnostic trouble codes and carry out spare parts programming using Tech2.
7. Re-configure the OnStar system.

NOTE:
- When replacing the OnStar control module the system must be reconfigured. If the reconfiguration is neglected, or is not successful, then the system will not function correctly.
- This system cannot be zeroed by depressing the "white dot" button as this will instead generate a fault code.