Curiosii for ever!: Car repair manuals for everyone.

Front Subframe Mount: Service and Repair

Subframe bushes

To remove
1. Remove the subframe. See Subframe, petrol engine or Subframe, 4-cylinder diesel engine.





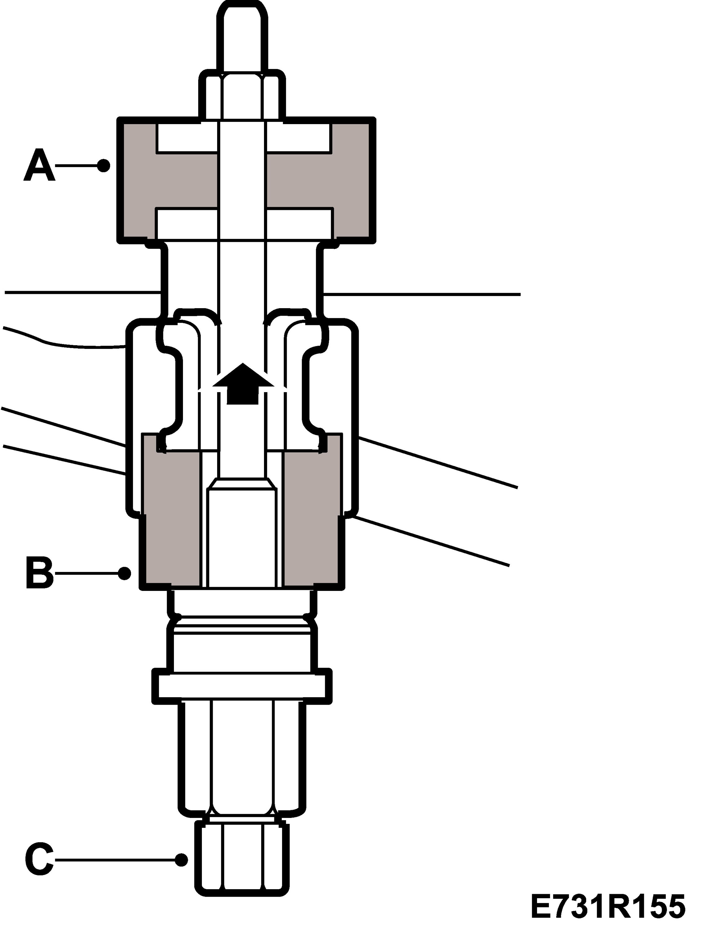
2. Remove the bush using 89 96 779 Press sleeve kit, front assembly.

A: KM-907-11

B: KM-907-12

C: KM-907-30

Important
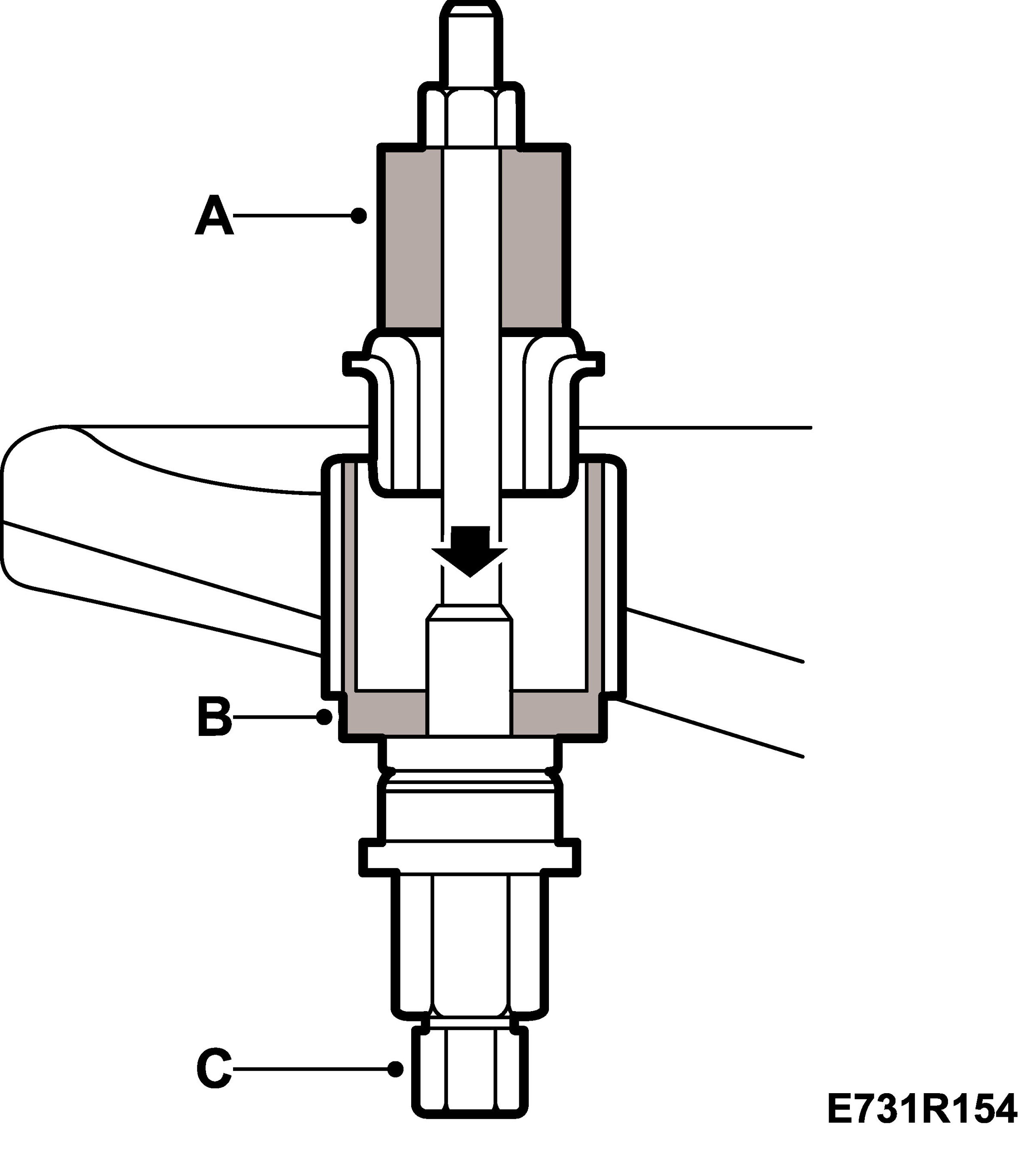
The four front bushes must be fitted with one opening forwards and one opening backwards. Mark the bush with a felt-tip pen in order to be able to check that the bush is not rotated during assembly.






1. Lubricate the bush with soap solution and fit it using 89 96 779 Press sleeve kit, front assembly.

A: KM-907-14

B for front and rear bush: KM-907-13

B for middle bush: 89 96 878

C: KM-907-30

2. Fit the subframe. See Subframe, petrol engine or Subframe, 4-cylinder diesel engine.