Curiosii for ever!: Car repair manuals for everyone.

Radiator Cooling Fan Motor Relay: Service and Repair



Cooling Fan Relay Replacement

Tools Required

J 43244 Relay Puller Pliers


Removal Procedure





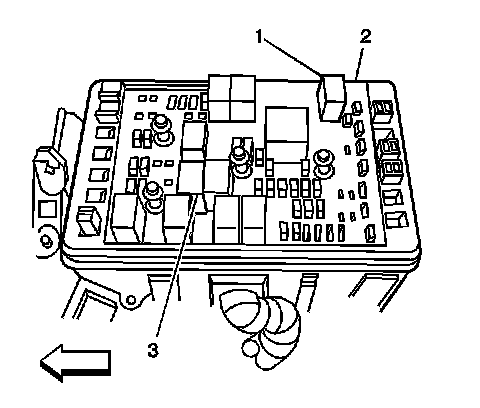
1. Remove the underhood electrical center cover.
2. Using the J 43244 , remove the cooling fan relay (3).



Installation Procedure

Notice: Installation of the proper relay is critical. If an enhanced relay - equipped with a diode - is installed into a position requiring a standard relay - equipped without a diode - excessive current will damage any components associated with the relay or its associated circuits.







1. Install the cooling fan relay (3).
2. Install the underhood electrical center cover.