Curiosii for ever!: Car repair manuals for everyone.

Air Injection Pump: Service and Repair



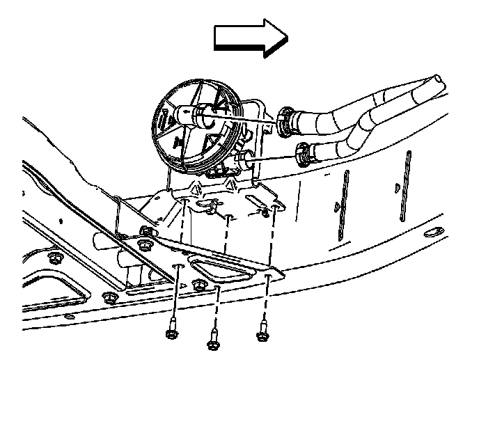
Secondary Air Injection Pump Replacement

Removal Procedure

1. Raise the vehicle. Refer to Lifting and Jacking the Vehicle (Service and Repair).




2. Disconnect both the air inlet and air outlet pipes from the secondary air injection (AIR) reaction pump.
3. Remove the electrical relay from the AIR pump bracket.
4. Disconnect the electrical connector from the AIR pump.
5. Remove the 3 bolts securing the AIR pump bracket to the vehicle frame.
6. Remove the AIR pump from the vehicle.

Installation Procedure




1. Install the AIR pump to the vehicle.

Notice: Refer to Fastener Notice (Fastener Notice).

2. Install the 3 bolts securing the AIR pump bracket to the vehicle frame.

Tighten the bolts to 20 Nm (15 ft. lbs.).

3. Connect the electrical connector to the AIR pump.
4. Install the electrical relay to the AIR pump bracket.

Important: Ensure the air inlet and air outlet pipes are clean and clear of any debris before connecting to the AIR pump.


5. Connect both the air inlet and air outlet pipe to the AIR pump.
6. Lower the vehicle.