Curiosii for ever!: Car repair manuals for everyone.

Seat Latch: Service and Repair



Rear Seat Number 1 Cushion Latch Release Assembly Replacement

Removal Procedure

1. Remove the rear seat cushion assembly from the vehicle. Refer to Rear Seat Cushion Replacement (Rear Seat Cushion Replacement).
2. Remove the rear seat cushion cover and the pad. Refer to Rear Seat Cushion Cover and Pad Replacement (Rear Seat Cushion Cover and Pad Replacement).




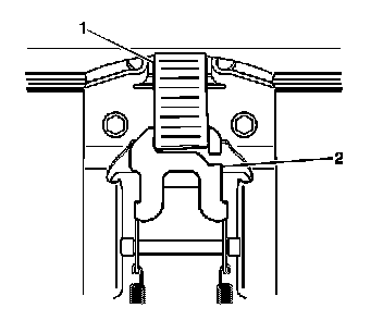
3. Remove the strap (1) from the rear seat cushion latch (2).




4. Remove the 3 bolts securing the rear seat cushion latch to the seat pan.

Installation Procedure





Notice: Refer to Fastener Notice (Fastener Notice).

1. Install the 3 bolts securing the rear seat cushion latch to the seat pan.

Tighten the rear seat cushion latch release bolts to 10 Nm (88 in. lbs.).




2. Install the small loop (1) onto the rear seat cushion latch (2).
3. Install the strap through the opening in the seat pan.
4. Install the rear seat cushion cover and the pad. Refer to Rear Seat Cushion Cover and Pad Replacement (Rear Seat Cushion Cover and Pad Replacement).
5. Install the rear seat cushion assembly to the vehicle. Refer to Rear Seat Cushion Replacement (Rear Seat Cushion Replacement).