Curiosii for ever!: Car repair manuals for everyone.

Shifter M/T: Service and Repair

MT Gear Shift Lever

REMOVAL

5MT
1. Set the vehicle on a lift.
2. Disconnect the ground cable from battery.
3. Remove the gear shift knob.
4. Remove the console box.
5. Remove the clamp.





6. Remove the boot and insulator assembly.





7. Remove the plate assembly from body.





8. Lift-up the vehicle.
9. Remove the rear exhaust pipe and muffler.
^ SOHC model
^ DOHC turbo model
10. Remove the stay from transmission bracket.





11. Remove the rod from joint.





12. Remove the cushion rubber from body.





13. Extract the spring pin, and then remove the joint.
14. Lower the vehicle.





15. Remove the gear shift lever.





INSTALLATION

5MT
1. Install the joint to the transmission and secure with the spring pin.
2. Insert gear shift lever from room side.

NOTE:
After inserting rod and stay, position them onto transmission mount.





3. Lift-up the vehicle.
4. Install the joint to shifter arm.
5. Insert the spring pin.





6. Mount the cushion rubber on body.





7. Connect the rod to the joint.





8. Connect the stay to transmission bracket.





9. Install the rear exhaust pipe and muffler.
^ SOHC model
^ DOHC turbo model
10. Lower the vehicle.
11. Install the plate assembly to body.





12. Pay attention to the direction of boot and insulator assembly and install them to the vehicle.





13. Install the clamp.
14. Install console box.

DISASSEMBLY

5MT
1. Disassemble the lock wire.





2. Remove the rod from lever.





3. Separate the rod and inner boot.
4. Remove the snap ring from the stay.





5. Separate the gear shift lever and the stay.





6. Remove the boot, bushing and snap ring from gear shift lever.





7. Remove the spring pin, and then remove the bushing and snap ring.





8. Remove the boss from the joint.





ASSEMBLY

5MT

NOTE:
^ Clean all the parts before assembly.
^ Apply grease [KOPR-KOTE (Part No. 003603001) or equivalent] to each part.
1. Mount the bushing and cushion rubber on the stay.





2. Install the bushing and spacer to boss.





3. Using new self-locking nuts, install the boss to the joint.





4. Install the snap ring to gear shift lever and install the bushing.

NOTE:
Apply grease to the bushing.





5. Apply grease to the bushing and O-ring, and then install to the gear shift lever.





6. Apply sufficient grease into boss, and then install the gear shift lever to the stay.





7. Install the washer and snap ring.





8. Insert the gear shift lever and rod into boot hole.
9. Install the rod.





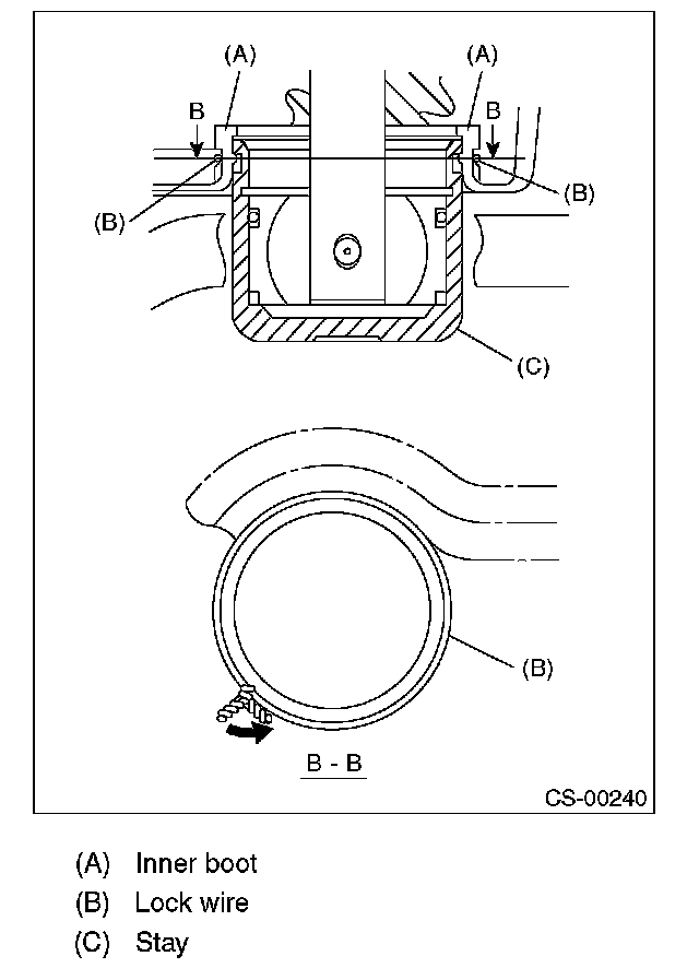
10. Install a new lock wire.





NOTE:
^ Install the lock wire to the stay groove.
^ Bend the extra wire to same direction of lock wire winding.





11. Check the swing torque of rod in relation to the gear shift lever.
12. Check that there is no excessive play and that parts move smoothly.

INSPECTION
1. Check the removed parts (bushing, cushion rubber, spacer, boot, stay, rod, etc.) for deformation, damage and wear. Repair or replace any defective part.
^ 5MT

5MT: