Curiosii for ever!: Car repair manuals for everyone.

Differential Case Assembly

DISASSEMBLY

DIFFERENTIAL CASE ASSEMBLY
1. Loosen the twelve bolts and remove the hypoid driven gear.





2. Drive out the straight pin from differential assembly toward hypoid driven gear.
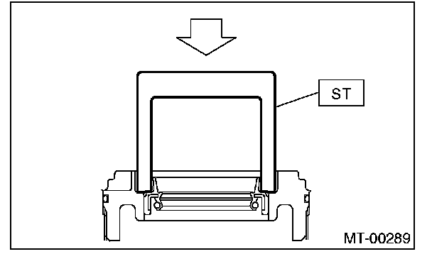
ST 899904100 STRAIGHT PIN REMOVER





3. Pull out the pinion shaft, and remove the differential bevel pinion and gear and washer.





4. Remove the roller bearing using ST.
ST 899524100 PULLER SET





SIDE RETAINER
1. Remove the O-ring.





2. Remove the oil seal.

NOTE:
Do not reuse the oil seal. Prepare a new oil seal.





ASSEMBLY

DIFFERENTIAL CASE ASSEMBLY
1. Install the differential bevel gear and differential bevel pinion together with washers, and insert pinion shaft.

NOTE:
Face the chamfered side of washer toward gear.





2. Measure the backlash between differential bevel gear and pinion. If it is not within specifications, install a suitable washer to adjust it.

NOTE:
Be sure the pinion gear tooth contacts adjacent gear teeth during measurement.
ST1 498247001 MAGNET BASE
ST2 498247100 DIAL GAUGE





3. Align the pinion shaft and differential case at their holes, and drive the straight pin into holes from the hypoid driven gear side, using ST.

NOTE:
Lock the straight pin after installing.

ST 899904100 STRAIGHT PIN REMOVER





4. Install the roller bearing to differential case.

NOTE:
^ Do not apply pressure in excess of 10 kN (1 ton, 1.1 US ton, 1.0 Imp ton).
^ Be careful because the roller bearing outer races are used as a set.
ST1 499277100 BUSHING 1-2 INSTALLER
ST2 398497701 ADAPTER





5. Install the hypoid driven gear to differential case using twelve bolts.





6. Set the drive axle shaft into differential case and hold it using outer spring. Measure the shaft to case clearance to check if it is within specifications using thickness gauge.

NOTE:
Replace the snap ring with suitable one, if the measurement is not within specifications.








SIDE RETAINER
1. Install a new oil seal.
ST 18675AA000 DIFFERENTIAL SIDE OIL SEAL INSTALLER





2. Install a new O-ring.

NOTE:
Do not stretch or damage the O-ring.





INSPECTION
Repair or replace the differential gear in the following cases:
^ The hypoid drive gear and drive pinion shaft tooth surface are damaged, excessively worn, or seized.
^ The roller bearing on the drive pinion shaft has a worn or damaged roller path.
^ There is damage, wear, or seizure of the differential bevel pinion, differential bevel gear, washer, pinion shaft, and straight pin.
^ The differential case has worn or damaged sliding surfaces.





BEVEL PINION GEAR BACKLASH
Measure the backlash between differential bevel gear and pinion. If it is not within specifications, install a suitable washer to adjust it.

NOTE:
Be sure the pinion gear tooth contacts adjacent gear teeth during measurement.
ST1 498247001 MAGNET BASE
ST2 498247100DIAL GAUGE





HYPOID GEAR BACKLASH
1. Set the ST1, ST2 and ST3. Insert the needle through transmission oil drain plug hole so that the needle comes in contact with the tooth surface at a right angle and check the backlash.
ST1 498247001 MAGNET BASE
ST2 498247100 DIAL GAUGE
ST3 498255400 PLATE
2. Install the axle shafts to both sides, rotate in the reverse direction so that the dial gauge contacts the tooth surface, and read the dial gauge.
Part No. 38415AA100 AXLE SHAFT





NOTE:
If the backlash is outside specified range, adjust it by turning the holder in right side case.

TOOTH CONTACT OF HYPOID GEAR
Check the tooth contact of hypoid gear as follows: Apply a uniform thin coat of red lead on both tooth surfaces of 3 or 4 teeth of the hypoid gear. Move the hypoid gear back and forth by turning the transmission main shaft until a definite contact pattern is developed on hypoid gear, and judge whether face contact is correct. If it is inaccurate, make adjustment.
^ Tooth contact is correct.





ADJUSTMENT

BEVEL PINION GEAR BACKLASH
1. Disassemble the front differential.
2. Select a differential washer from the table and install.





3. Adjust until the specified value is obtained.
Standard backlash: 0. 13 - 0.18 mm (0.0051 - 0.0071 inch)

HYPOID GEAR BACKLASH
Adjust backlash by turning the holder in right side case.
ST 18630AA010 WRENCH COMPL RETAINER





NOTE:
Each time holder rotates one tooth, backlash changes by 0.05 mm (0.020 inch).





TOOTH CONTACT OF HYPOID GEAR
1. Adjust until the tooth contact is correct.
2. Check and adjust the tooth contact with following.
^ Tooth contact
Checking item: Tooth contact pattern is slightly shifted toward to toe side under no-load rotation. [When loaded, contact pattern moves toward heel.]





^ Face contact
Checking item: Backlash is too large. Contact pattern





Corrective action: Reduce thickness of pinion height adjusting washer in order to bring drive pinion close to driven gear.





^ Flank contact
Checking item: Backlash is too small. Contact pattern





Corrective action: Increase thickness of pinion height adjusting washer in order to move drive pinion away from driven gear.





^ Toe contact (Inside end contact)
Checking item: Contact area is small. Contact pattern





Corrective action: Increase thickness of pinion height adjusting washer in order to bring drive pinion close to driven gear.





^ Heel contact (Outside end contact)
Checking item: Contact area is small.
Contact pattern





Corrective action: Reduce thickness of pinion height adjusting washer in order to move drive pinion away from driven gear.