Curiosii for ever!: Car repair manuals for everyone.

Assembly

ASSEMBLY

EXCEPT STI MODEL

NOTE:
^ Assemble in the reverse order of disassembling.
^ Check and adjust each part during assembly.
^ Keep the shims and washers in order, so that hey are not improperly installed.
^ Thoroughly clean the surfaces on which the shims, washers and bearings are to be installed.
^ Apply gear oil when installing the bearings and thrust washers.
^ Be careful not to mix up the right and left hand races of the bearings.
^ Use a new O-ring and gasket.
^ Replace the oil seal with a new one at every disassembly. Apply chassis grease between the lips when installing the oil seal.
^ Be careful not to confuse the installing direction of oil seal.





1. Adjusting preload for front and rear bearings
Adjust the bearing preload with spacer and washer between front and rear bearings. Pinion height adjusting washer are not affected by this adjustment. The adjustment must be carried out without oil seal inserted.
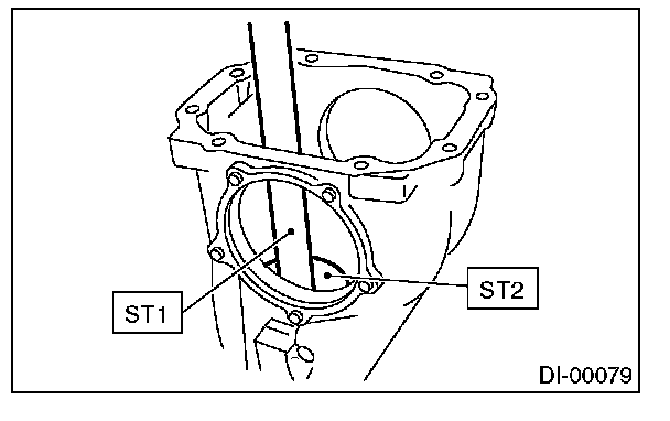
(1) Press the rear bearing race into differential carrier using ST1 and ST2.
ST1 398477701 HANDLE
ST2 398477703DRIFT 2





(2) Install the front bearing race to differential carrier using ST1 and ST2.
ST1 398477701 HANDLE ST2 398477702 DRIFT
(3) Insert the ST1 into carrier with pinion height adjusting washer and rear bearing cone fitted onto it.

NOTE:
^ If tooth contact (Drive pinion, Hypoid driven gear) is normal in the inspection before disassembling, verify that the washer is not deformed, and then reuse the used washer.
^ Use a new rear bearing cone.

(4) Then install the preload adjusting spacer and washer, front bearing cone, ST2, companion flange, and washer and drive pinion nut.
ST1 398507702 DUMMY SHAFT
ST2 398507703 DUMMY COLLAR





(5) Turn the ST1 with hand to make the bearing accustomed, and tighten the self-locking nut while measuring the starting load or starting torque with spring balance or torque wrench. Select the preload adjusting washer and spacer so that the specified preload is obtained when nut is tightened to the specified torque.





NOTE:
^ Use a new self-locking nut.
^ Be careful not to give excessive preload.
^ When tightening the self-locking nut, lock ST1 with ST2 as shown in the figure.
^ Measure the preload in direction of tangent to flange.
ST1 398507702 DUMMY SHAFT
ST2 398507704 BLOCK














2. Drive pinion height adjustment Adjust the drive pinion height with shim installed between the rear bearing cone and back of pinion gear.

(1) Install the ST2.

NOTE:
At this time, install a pinion height adjusting washer which is temporarily selected or the same as that used before. Measure and record the thickness.
ST1 398507702 DUMMY SHAFT
ST2 398507701 DIFFERENTIAL CARRIER GAUGE
ST3 398507703 DUMMY COLLAR





(2) Measure the clearance N between the end of ST2 and end surface of ST1 by using a thickness gauge.

NOTE:
Make sure there is no clearance between the case and ST2.
ST1 398507702 DUMMY SHAFT
ST2 398507701 DIFFERENTIAL CARRIER GAUGE





(3) Obtain the thickness of pinion height adjusting washer to be inserted from the following formula, and replace the temporarily installed shim with this one.

NOTE:
Use copies of this page.











3. Install the selected pinion height adjusting washer on drive pinion, and press the rear bearing cone into position with ST.
ST 398177700 INSTALLER





4. Insert the drive pinion into differential carrier, install the previously selected bearing preload adjusting spacer and washer.





5. Press-fit the front bearing cone into case with ST1, ST2 and ST3.
ST1 398507703 DUMMY COLLAR
ST2 399780104WEIGHT
ST3 899580100 INSTALLER





6. Insert the spacer, then press-fit the pilot bearing with ST1 and ST2.
ST1 399780104 WEIGHT
ST2 899580100 INSTALLER





7. Fit a new oil seal with ST.

NOTE:
^ Press-fit until the end of oil seal is 1 mm (0.04 inch) inward from end of carrier.
^ Apply grease between the oil seal lips.
ST 498447120 INSTALLER





8. Press-fit the companion flange with ST1 and ST2.

NOTE:
Be careful not to damage the bearing.
ST1 899874100 INSTALLER
ST2 399780104 WEIGHT





9. Apply Lock Tite to the bolt threads of drive pinion shaft, and the seating surface of new self-locking nut.
Lock Tite: THREE BOND 1324 (Part No. 004403042)
10. Install a new self-locking nut. Then tighten it with the ST.
ST 498427200 FLANGE WRENCH





11. Assembling differential case Install the side gears and pinion mate gears, with their thrust washers and pinion mate shaft, into differential case. (Model without LSD)

NOTE:
^ Apply gear oil on both sides of the washer and on the side gear shaft before installing.
^ Insert the pinion mate shaft into the differential case by aligning the lock pin holes.





(1) Measure the side gear backlash.





(2) Adjust the backlash as specified by selecting the side gear thrust washer.





(3) Check the condition of rotation after applying oil to the gear tooth surfaces and thrust surfaces.
(4) After inserting the pinion shaft lock pin into differential case, stake both sides of the hole to prevent pin from falling off.
12. Install the hypoid driven gear on differential case.

NOTE:
^ Before installing the bolts, apply Lock Tite to bolt threads.
^ Make sure that there is no clearance between differential case and driven gear.
Lock Tite: THREE BOND 1324 (Part No. 004403042) or equivalent

NOTE:
Tighten diagonally while tapping the bolt heads.





13. Press-fit the side bearing into differential case using ST.
ST 398487700 DRIFT





14. Press the side bearing outer race into side bearing retainer using ST.
ST 398417700 DRIFT





15. Adjusting side bearing retainer shims
(1) The driven gear backlash and side bearing preload can be determined by the side bearing retainer shim thickness.
(2) Install the differential case assembly into differential carrier in the reverse order of disassembly.

NOTE:
Be careful not to hit the teeth against the case.





(3) Install the side bearing retainer shims to the right and left retainers from which they were removed.

NOTE:
Replace the broken or corroded side bearing retainer shim with a new one of same thickness.





(4) Align the arrow mark on differential carrier with the mark on side bearing retainer during installation.

NOTE:
Be careful that side bearing outer race is not damaged by bearing roller.





(5) Tighten the side bearing retainer bolts.





(6) Measure the hypoid driven gear-to-drive pinion backlash. Set the magnet base on differential carrier. Align the contact point of dial gauge with tooth face of hypoid driven gear, and move the hypoid driven gear while holding drive pinion still. Read the value indicated on dial gauge.





NOTE:
If the backlash exceeds 0.20 mm (0.008 inch), reduce the thickness of shim on the back face of hypoid driven gear and increase the thickness of shim on the tooth face of hypoid driven gear. If the backlash is less than 0. 10 mm (0.004 inch), increase the thickness of shim on the back face of hypoid driven gear and reduce the thickness of shim on the tooth face of hypoid driven gear.

(7) At the same time, measure the total preload of drive pinion. Compared with the resistance when differential case is not installed, if the total preload is not within specification, adjust the thickness of side bearing retainer shims, increasing/reducing by an even amount at a time.





16. Re-check the hypoid driven gear-to-pinion backlash.
17. Check the hypoid driven gear runout on its back surface, and make sure that pinion and hypoid driven gear rotate smoothly.





18. Checking and adjusting tooth contact of hypoid driven gear
(1) Apply an even coat of red lead on both sides of three or four teeth on the hypoid driven gear. Check the contact pattern after rotating the hypoid driven gear several revolutions back and forth until a definite contact pattern appears on the hypoid driven gear.
(2) When the contact pattern is incorrect, readjust according to the instructions given in "TOOTH CONTACT PATTERN".

NOTE:
Be sure to wipe off red lead completely after adjustment is completed.

^ Correct tooth contact
Checking item: Tooth contact pattern is slightly shifted toward to toe side under no-load rotation. (When loaded, contact pattern moves toward heel)





^ Face contact
Checking item: Backlash is too large. Contact pattern





Corrective action: Increase thickness of drive pinion height adjusting washer in order to bring drive pinion close to hypoid driven gear.





^ Flank contact
Checking item: Backlash is too small.
Contact pattern





Corrective action: Reduce thickness of drive pinion height adjusting washer in order to move drive pinion away from hypoid driven gear.





^ Toe contact (Inside end contact)
Checking item: Contact area is small.
Contact pattern





Corrective action: Reduce thickness of drive pinion height adjusting washer in order to move drive pinion away from hypoid driven gear.





^ Heel contact (Outside end contact)
Checking item: Contact area is small.
Contact pattern





Corrective action: Increase thickness of drive pinion height adjusting washer in order to bring drive pinion close to hypoid driven gear.





19. If proper tooth contact is not obtained, once again adjust the drive pinion height by changing RH and LH side bearing retainer shims and the hypoid gear backlash.
20. Remove the side bearing retainers on right and left side.
21. Install new O-rings to side bearing retainers on right and left side.
22. Install the oil seals to side bearing retainers on right and left side.
23. Align the arrow mark on differential carrier with the mark on side bearing retainer during installation.





24. Apply liquid gasket to the bolt with arrow mark, and install the side bearing retainer.
Liquid gasket: THREE BOND 1105 (Part No. 004403010) or equivalent





25. Install the new gasket and rear cover and tighten the bolts to specified torque.
Tightening torque:
29.5 Nm (3.0 kgf-m, 21.8 ft. lbs.)

26. Install the air breather cap.
27. Install the drain plug and filler plug.