Curiosii for ever!: Car repair manuals for everyone.

Front Differential Assembly

Front Differential Assembly

REMOVAL
1. Remove the transmission assembly from the vehicle.
2. Extract the torque converter clutch assembly.
3. Remove the input shaft.





4. Lift-up lever behind the transmission harness connector and disconnect it from stay.
5. Disconnect inhibitor switch from stay.
6. Remove the oil charge pipe.
7. Remove the oil cooler inlet and outlet pipes.
8. Separation of converter case and transmission case.
9. Remove the seal pipe.
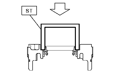
10. Remove the differential side retainer with ST.

NOTE:
Hold the differential case assembly by hand to avoid damaging retainer mounting hole of the converter case.
ST 499787000 WRENCH ASSY

11. Remove the differential assembly without damaging installation part of retainer.

INSTALLATION
1. Install the differential assembly to the torque converter clutch case.

CAUTION:
Do not damage the inside of the torque converter clutch case (particularly, the differential side retainer contact surface).





2. Install the O-rings from left and right side retainer.
3. Using ST, install the side retainers.
ST 499787000 WRENCH ASSY
4. Adjust the front differential backlash.
5. Install the lock plate.





6. Install the new seal pipe to the converter case.





7. Install the converter case to transmission case.
8. Insert inhibitor switch and transmission connector into stay.





9. Install oil cooler pipes.
10. Install the oil charge pipe with O-ring.
11. Insert the input shaft while rotating it lightly by hand, and then check the protrusion amount.





12. Install the torque converter clutch assembly.
13. Install the transmission assembly to the vehicle.

DISASSEMBLY

DIFFERENTIAL CASE ASSEMBLY
1. Using a press and ST, remove the taper roller bearing.
ST 498077000 REMOVER





2. Secure the case in a vise and remove the hypoid driven gear tightening bolts, then separate the hypoid driven gear, case (RH) and case (LH).





3. Pull out the straight pin and shaft, and remove the differential bevel gear, washer, and differential bevel pinion.





SIDE RETAINER

NOTE:
After adjusting the drive pinion backlash and tooth contact, remove and install the oil seal and O-ring.

1. Remove O-ring.





2. Remove oil seal.





3. Take out either split pin, remove claw.
ST 398527700 PULLER ASSY





4. Securely attach two claws to outer race, set ST to side retainer.
ST 398527700 PULLER ASSY





5. Return removed claw to the original position, and install pin and split pin.
6. Hold the shaft of ST to avoid removing from side retainer, and then remove the bearing outer race.
ST 398527700 PULLER ASSY

NOTE:
Replace bearing inner and outer races as a single unit.





ASSEMBLY

DIFFERENTIAL CASE ASSEMBLY
1. Install the washer, differential bevel gear and differential bevel pinion in the differential case (RH). Insert the pinion shaft.
2. Install straight pin from reverse direction.





3. Install the washer and differential bevel gear to the differential case (I-H). Then put the case over the differential case (RH), and connect both cases.
4. Install the hypoid driven gear and secure by tightening the bolt.





5. Measurement of backlash (Selection of washer)
(1) Install the genuine axle shaft to differential case.
Part No. 38415AA070 AXLE SHAFT
(2) Measure the gear backlash with ST1 and ST2, and insert ST2 through the access window of the case.
ST1 498247001 MAGNET BASE
ST2 498247100 DIAL GAUGE

NOTE:
^ Measure the backlash by applying a pinion tooth between two bevel gear teeth.
^ Fix bevel pinion gear in place with a screwdriver or similar tool when measuring.





(3) If backlash is not as specified, select a washer from the table below.





6. Using ST, install taper roller bearing.
ST 398437700 DRIFT





SIDE RETAINER
1. Install bearing outer race to side retainer.
2. Install a new oil seal using the ST and hammer.
ST 18675AA000 DIFFERENTIAL SIDE OIL SEAL INSTALLER





3. Apply gear oil to new O-ring and install it.





INSPECTION
^ Check each component for harmful cuts, damage and other faults.
^ Measure the backlash and adjust to within specifications.

ADJUSTMENT
1. Using ST, screw in the retainer until light contact is felt.

NOTE:
Screw in the RH side slightly deeper than the LH side.
ST 499787000 WRENCH ASSY





2. Remove the oil pump housing.
3. Thoroughly remove the liquid gasket from the case mating surface beforehand.
4. Install the oil pump housing assembly to the converter case, and secure evenly by tightening four bolts.

NOTE:
Use an old gasket or an aluminum washer so as not to damage the mating surface of the housing.





5. Rotate the drive pinion several times with ST1 and ST2.
ST1 498937110 HOLDER
ST2 499787700 WRENCH





6. Tighten the LH retainer until contact is felt while rotating the shaft. Then loosen the RH retainer. Keep tightening the LH retainer and loosening the RH retainer until the pinion shaft can no longer be turned. This is the "zero" state.





7. After the "zero" state is established, back off the LH retainer 3 notches and secure it with the lock plate. Then back off the RH retainer and retighten until it stops. Rotate drive pinion a few times. Tighten the RH retainer 1-3/4 notches further. This sets the preload. Finally, secure the retainer with its lock plate.





NOTE:
Turning the retainer by one tooth changes the backlash about 0.05 mm (0.0020 inch).





8. Turn the drive pinion several rotations with ST1 and check to see if the backlash is within the standard value with ST2, ST3, ST4 and ST5.
ST1 499787700 WRENCH
ST2 498247001 MAGNET BASE
ST3 498247100 DIAL GAUGE
ST4 499787500 ADAPTER
ST5 498255400 PLATE





9. Adjust the tooth contact between front differential and drive shaft.