Control Arm Bushing: Service and Repair
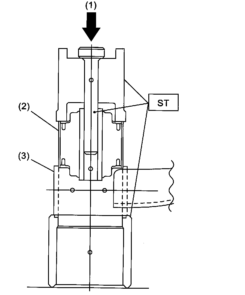
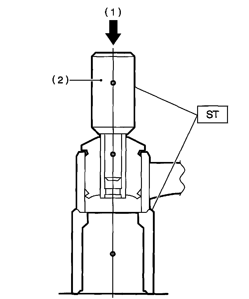
REAR BUSHINGRemove the housing.
Using the ST, press the rear bushing out of place.
ST 32005222 INSTALLER & REMOVER SET
(1) Press
(2) Housing
ASSEMBLY
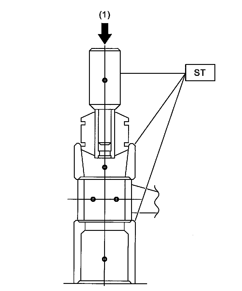
FRONT BUSHING
Using the ST, press the bushing into trailing link.
ST 32005221 INSTALLER & REMOVER SET
Important: Turn the ST plunger upside down and press it until the plunger end surface contacts the trailing link end surface.
(1) Press
(2) Front bushing
(3) Trailing link
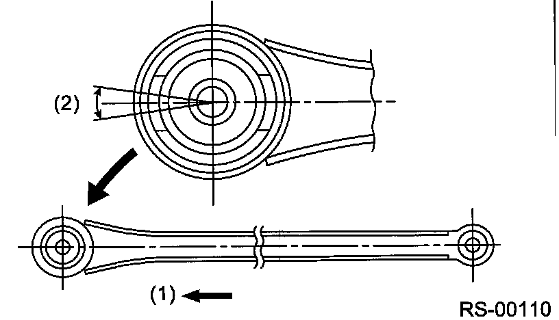
Important: Install the front bushing in the proper direction, as shown in the figure.
(1) Front
(2) ±5°
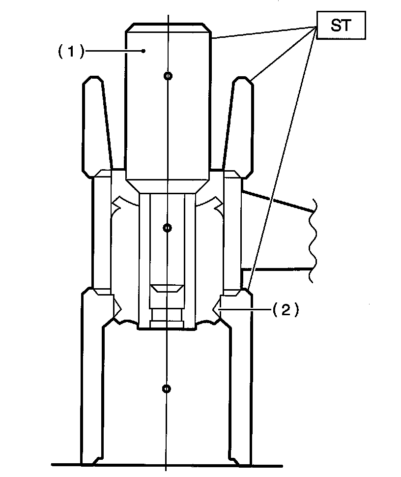
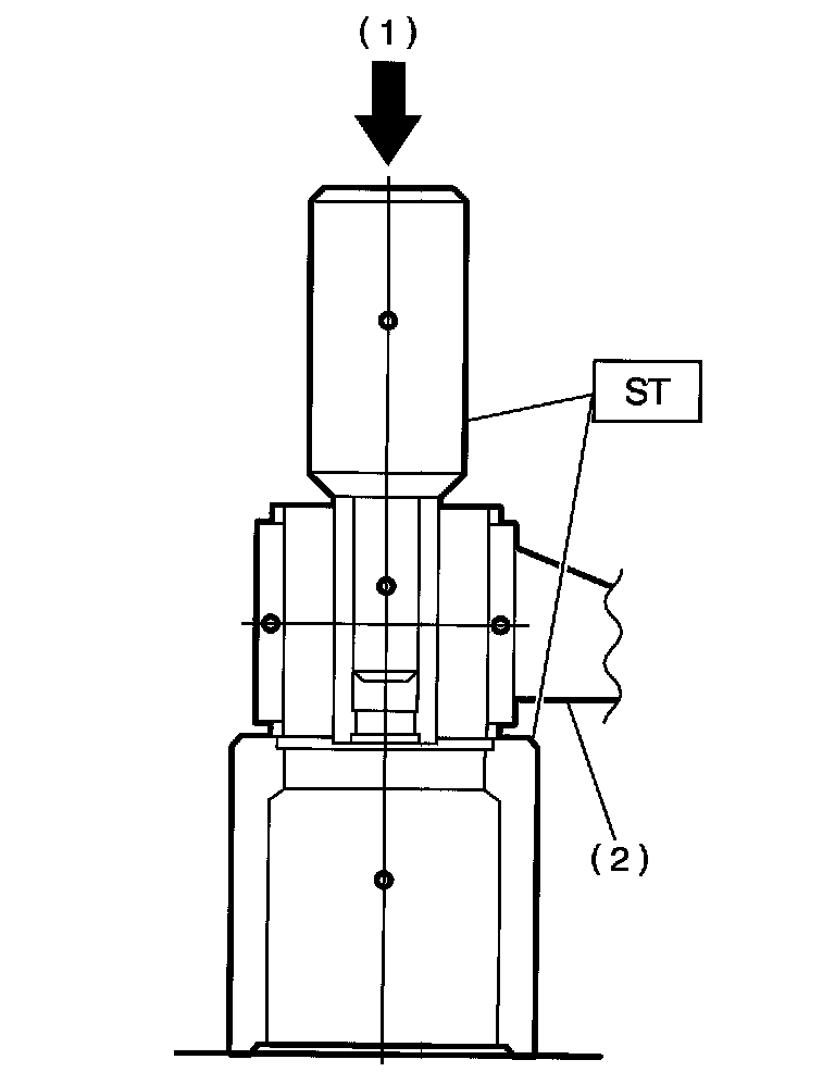
REAR BUSHING
Using the ST, press the bushing into trailing link.
ST 32005222 INSTALLER & REMOVER SET
Note: If it is difficult to press the bushing into trailing link, apply water-diluted TIRE LUBE to the inner surface of ST as a lubricant.
SPECIFIED lubricant: TIRE LUBE: water = 1: 3
(1) Press
Press the ST plunger until the bushing flange protrudes beyond trailing link.
ST 32005222 INSTALLER & REMOVER SET
(1) Plunger
(2) Flange
Turn the trailing link upside down. Press the ST plunger in the opposite direction that outlines in the former procedure until bushing is correctly positioned in trailing link.
ST 32005222 INSTALLER & REMOVER SET
(1) Press
(2) Plunger
Install the housing.