Curiosii for ever!: Car repair manuals for everyone.

Airbag Connector



Airbag Connector

Procedure

Power Supply
How to disconnect:
Move the slide lock (A) in the direction of the arrow.
Disconnect the connector with slide lock (A) moved.







IMPORTANT: When pulling the slide lock or disconnecting the connector, be sure to hold onto the connector and not the wire.

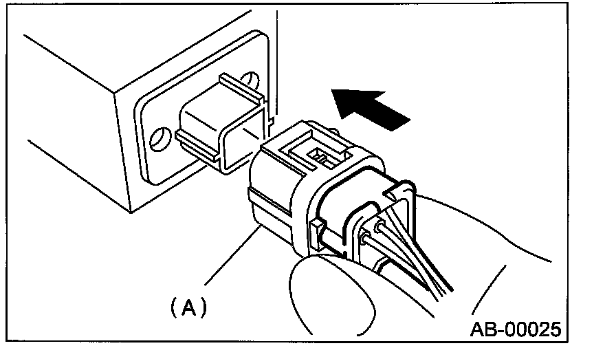
How to connect:
Holding the connector (A), and push it in carefully until a connecting sound is heard.







IMPORTANT:
- Be sure to insert the connector in until it locks.
- Then pull on it gently to make sure that it is locked.

Driver's Airbag Module And Pretensioner
How to disconnect:
Using a flat tip screwdriver, pry the push lock upward to unlock.







Pull the connector to disconnect from driver's side airbag module assembly.







How to connect:
Connect the connector in reverse order of disconnecting. At this time, be sure to insert the push lock in until connecting sound is heard.

IMPORTANT:
- Be sure to insert the connector in until it locks. Then pull on it gently to make sure that it is locked.
- At this time, be sure to insert the push lock in.







Driver's Airbag (between Airbag Main Harness And Roll Connector), Passenger's Airbag And Side Airbag
How to disconnect:
Push the lock arm (A).
With the lock arm (A) pushed in, move the slide lock (B) in the direction of arrow.







With the slide lock moved, release the lock arm (back to its original position), and disconnect the connector.

IMPORTANT: When pulling the side lock or disconnecting the connector, be sure to hold onto the connector and not the wire.







Front Sub-sensor And Side Airbag Sensor
How to disconnect:
Holding outer part (A), pull it in the direction of the arrow.

IMPORTANT: When pulling the slide lock or disconnecting the connector, be sure to hold onto the connector and not the wire.







How to connect:
Holding the connector, and push it in carefully until a connecting sound is heard.

IMPORTANT:
- Outer (A) moves back, and so do not put your hand on the outer part.
- Be sure to insert the connector in until it locks. Then pull on it gently to make sure that it is locked.