Curiosii for ever!: Car repair manuals for everyone.

Removal and Replacement

Cylinder Block

CYLINDER BLOCK:





Removal

NOTE: Before conducting this procedure, drain the engine oil completely.

1. Remove the intake manifold.
2. Remove the V-belts.
3. Remove the crank pulley.
4. Remove the timing belt cover.
5. Remove the timing belt.
6. Remove the cam sprocket.
7. Remove the crank sprocket.
8. Remove the generator and A/C compressor with their brackets.
9. Remove the rocker cover.
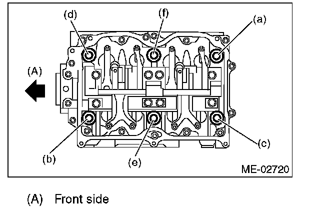
10. Remove the cylinder head bolts in alphabetical sequence as shown in the figure.

NOTE: Leave bolts (a) and (d) engaged by three or four threads to prevent the cylinder head from falling.





11. While tapping the cylinder head with a plastic hammer, separate it from cylinder block.
12. Remove the bolts (a) and (d) to remove the cylinder head.





13. Remove the cylinder head gasket.

NOTE: Do not scratch the mating surface of cylinder head and cylinder block.

14. Similarly, remove the right side cylinder head.
15. Remove the clutch housing cover. (MT model)
16. Remove the flywheel (MT model) or drive plate (AT model).
Lock the crankshaft using ST.
ST 498497100 CRANKSHAFT STOPPER





17. Remove the oil separator cover.
18. Remove the water by-pass pipe for heater.
19. Remove the water pump after loosening the bolts in alphabetical sequence as shown in the figure.





20. Remove the bolts which install the oil pump onto cylinder block.

NOTE: If disassembling or inspecting the oil pump, loosen the plug of relief valve before removing the oil pump.





21. Remove the oil pump from cylinder block. Use a flat tip screwdriver when removing the oil pump.

CAUTION: Be careful not to scratch the mating surface of cylinder block and oil pump.





22. Remove the oil pan.
a. Place the cylinder block to face the #2 and #4 piston side upward.
b. Remove the bolts which secure oil pan to cylinder block.
c. Insert a oil pan cutter blade between cylinder block-to-oil pan clearance and remove the oil pan.

NOTE: Do not use a screwdriver or similar tools in place of oil pan cutter.

23. Remove the oil strainer stay.
24. Remove the oil strainer.
25. Remove the baffle plate.
26. Remove the oil filter using ST.
ST 18332AAOOO OIL FILTER WRENCH (Outer diameter: 68 mm (2.68 inch))
ST 18332AA010 OIL FILTER WRENCH (Outer diameter: 65 mm (2.56 inch))

NOTE: Standard oil filter is outer diameter of 68 mm (2.68 inch). However, SUBARU genuine oil filter having outer diameter of 65 mm (2.56 inch) can also be used.





27. Remove the water pipe.








28. Remove the service hole cover and service hole plugs using a hexagon wrench (14 mm).





29. Rotate the crankshaft to bring #1 and #2 pistons to bottom dead center position, then remove the piston snap ring through service hole of #1 and #2 cylinders.





30. Draw out the piston pin from #1 and #2 pistons using ST.
ST 499097700 PISTON PIN REMOVER ASSY

NOTE: Be careful not to confuse the original combination of piston, piston pin and cylinder.





31. Similarly remove the piston pins from #3 and #4 pistons.
32. Remove the bolts which connect cylinder block on the side of #2 and #4 cylinders.
33. Back off the bolts which connect cylinder block on the side of #1 and #3 cylinders two or three turns.
34. Set up the cylinder block so that #1 and #3 cylinders are on the upper side, then remove the cylinder block connecting bolts.
35. Separate the cylinder block (RH) and (LH).

NOTE: When separating the cylinder block, do not allow the connecting rod to fall or damage the cylinder block.





36. Remove the rear oil seal.
37. Remove the crankshaft together with connecting rod.
38. Remove the crankshaft bearings from cylinder block using a hammer handle.

NOTE: Be careful not to confuse the crankshaft bearing combination. Press the bearing at the end opposite to locking lip.

39. Draw out each piston from cylinder block using a wooden bar or hammer handle.

NOTE: Be careful not to confuse the original combination of piston and cylinder.

Installation





NOTE: Remove oil on the mating surface of bearing and cylinder block before installation. Apply engine oil to crankshaft pins.

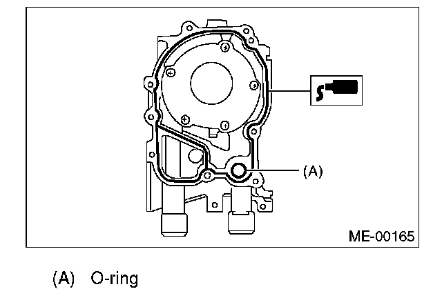
1. Position the crankshaft and O-ring on the #1 and #3 cylinder block.
2. Apply liquid gasket to the mating surface of #1 and #3 cylinder block, and position #2 and #4 cylinder block.
Liquid gasket. THREE BOND 1215 (Part No. 004403007) or equivalent

NOTE: Do not allow liquid gasket to flow into O-ring grooves, oil passages, bearing grooves, etc.





3. Apply engine oil to washers and thread of bolts.
4. Tighten the 10 mm cylinder block connecting bolts on LH side (A - D) in alphabetical sequence.
Tightening torque: 10 Nm (1.0 kgf-m, 7.4 ft. lbs.)





5. Tighten the 10 mm cylinder block connecting bolts on RH side (E - J) in alphabetical sequence.
Tightening torque: 10 Nm (1.0 kgf-m, 7.4 ft. lbs.)





6. Further tighten the LH side bolts (A - D) in alphabetical sequence.
Tightening torque: 18 Nm (1.8 kgf-m, 13.3 ft. lbs.)





7. Further tighten the RH side bolts (E - J) in alphabetical sequence.
Tightening torque: 18 Nm (1.8 kgf-m, 13.3 ft. lbs.)





8. Further tighten the LH side bolts (A), (C) to 90°, (B), (D) to 40 Nm (4.1 kgf-m, 29.5 ft. lbs.) in alphabetical sequence.





9. Further tighten the RH side bolts (E - J) to 90° in alphabetical sequence.





10. Tighten the 8 mm and 6 mm cylinder block connecting bolts on LH side (A - H) in alphabetical sequence.
Tightening torque:
(A) - (G): 25 Nm (2.5 kgf-m, 18.4 ft. lbs.)
(H): 6.4 Nm (0.65 kgf-m, 4.7 ft. lbs.)





11. Apply engine oil to the outer perimeter of rear oil seal, and install the rear oil seal using ST1 and ST2.

NOTE: Use a new rear oil seal.

ST1 499597100 CRANKSHAFT OIL SEAL GUIDE
ST2 499587200 CRANKSHAFT OIL SEAL INSTALLER





12. Position the top ring gap at (A) or (B) in the figure.

NOTE: Assemble the piston ring with stamped mark "R" facing toward upside of piston.

13. Position the second ring gap at 180° on the reverse side of the top ring gap.

NOTE: Assemble the piston ring with stamped mark "R" facing toward upside of piston.





14. Position the upper rail gap at (c) in the figure.





15. Align upper rail spin stopper (E) with piston side surface hole (D).





16. Position the expander gap on the opposite side position (F) 180° away from upper rail gap position (c).





17. Position the lower rail gap on the position (G) 120° away from upper rail gap position (c).





CAUTION:
^ Ensure ring gaps do not face the same direction.
^ Ensure ring gaps are not within the piston skirt area.

18. Install the snap ring. Install snap rings in the piston holes located opposite to the service holes in cylinder block, when positioning all pistons in the corresponding cylinders.





NOTE: Use new snap rings.





CAUTION: Piston front mark faces towards the front of engine.





19. Install the piston.
a. Place the cylinder block to face the #1 and #2 cylinder side upward.
b. Using ST1, turn the crankshaft so that #1 and #2 connecting rods are set at bottom dead center.
ST1 499987500 CRANKSHAFT SOCKET
c. Apply a coat of engine oil to the pistons and cylinders and insert pistons in their cylinders using ST2.
ST2 498747300 PISTON GUIDE





20. Install the piston pin.
a. Apply a coat of engine oil to ST3.
b. Insert ST3 into the service hole to align piston pin hole with connecting rod small end.
ST3 499017100 PISTON PIN GUIDE





c. Apply a coat of engine oil to piston pin, and insert the piston pin into piston and connecting rod through service hole.
d. Install the snap ring.

NOTE: Use new snap rings.





e. Apply liquid gasket around the service hole plug.
Liquid gasket. THREE BOND 1105 (Part No. 004403010) or equivalent





f. Install the service hole plug and gasket.

NOTE: Use a new gasket.








g. Place the cylinder block to face the #3 and #4 cylinder sides upward. Following the same procedures as used for #1 and #2 cylinders, install the pistons and piston pins.
21. Install the water pipe.





22. Install the baffle plate.
Tightening torque: 6.4 Nm (0.65 kgf-m, 4.7 ft. lbs.)
23. Install the oil strainer and O-ring.
Tightening torque: 10 Nm (1.0 kgf-m, 7.4 ft. lbs.)
24. Install the oil strainer stay.
25. Apply liquid gasket to mating surfaces and install the oil pan.
Liquid gasket. THREE BOND 1207C (Part No. 004403012) or equivalent





26. Apply liquid gasket to the mating surfaces and threaded portion of bolt (A) as shown in the figure, and then install the oil separator cover.
Liquid gasket. Mating surface THREE BOND 1207C (Part No. 004403012) or equivalent
Thread portion of bolt (A) THREE BOND 1324 (Part No. 004403042) or equivalent
Tightening torque: 6.4 Nm (0.65 kgf-m, 4.7 ft. lbs.)





27. Install the flywheel. (MT model)
To lock the crankshaft, use the ST.
ST 498497100 CRANKSHAFT STOPPER
Tightening torque: 72 Nm (7.3 kgf-m, 52.8 ft. lbs.)





28. Install the drive plate.
To lock the crankshaft, use the ST.
ST 498497100 CRANKSHAFT STOPPER
Tightening torque: 72 Nm (7.3 kgf-m, 52.8 ft. lbs.)





29. Install the housing cover.
30. Installation of oil pump:
a. Discard the front oil seal after removal. Replace with a new one using ST.
ST 499587100 OIL SEAL INSTALLER





b. Apply liquid gasket to the matching surface of oil pump.
Liquid gasket. THREE BOND 1215 (Part No. 004403007) or equivalent





c. Apply a coat of engine oil to the inside of oil seal.





d. Install the oil pump on cylinder block. Be careful not to damage the oil seal during installation.

CAUTION:
^ Make sure the oil seal lip is not folded.
^ Do not forget to install the O-ring and seal when installing the oil pump.


e. Apply liquid gasket to the threaded portion of three bolts.
Liquid gasket. THREE BOND 1324 (Part No. 004403042) or equivalent
Tightening torque:
T: 6.4 Nm (0.65 kgf-m, 4.7 ft. lbs.)





31. Install the water pump and gasket.
Tightening torque:
First. 12 Nm (1.2 kgf-m, 8.7 ft. lbs.)
Second. 12 Nm (1.2 kgf-m, 8.7 ft. lbs.)

CAUTION:
^ Be sure to use a new gasket.
^ When installing the water pump, tighten bolts in two stages in alphabetical sequence as shown in the figure.






32. Install the water by-pass pipe for heater.
33. Install the oil filter using ST.
ST 18332AA000 OIL FILTER WRENCH (Outer diameter: 68 mm (2.68 inch))
ST 18332AA010 OIL FILTER WRENCH (Outer diameter: 65 mm (2.56 inch))

NOTE: Standard oil filter is outer diameter of 68 mm (2.68 inch). However, SUBARU genuine oil filter having outer diameter of 65 mm (2.56 inch) can also be used.

Install the oil filter by turning it by hand, being careful not to damage the seal rubber.
Tighten the oil filter 68 mm (2.68 inch) in diameter by approximately 1 rotation more after the seal rubber of oil filter comes in contact with cylinder block or oil cooler. If using a torque wrench, tighten it to 14 Nm (1.4 kgf-m, 10.3 ft. lbs.).
Tighten the oil filter 65 mm (2.56 inch) in diameter by approximately 2/3 - 3/4 rotation more after the seal rubber of oil filter comes in contact with cylinder block or oil cooler. If using a torque wrench, tighten it to 12 Nm (1.2 kgf-m, 8.7 ft. lbs.).

CAUTION: Do not tighten excessively, or oil may leak.

34. Tighten the cylinder head bolts.
a. Apply a coat of engine oil to washers and bolt threads.
b. Tighten all bolts to 29 Nm (3.0 kgf-m, 22 ft. lbs.) in alphabetical sequence. Then tighten all bolts to 69 Nm (7.0 kgf-m, 51 ft. lbs.) in alphabetical sequence.
c. Back off all bolts by 1800 in reverse order of installation, and back them off again by 1800.
d. Tighten all bolts to 42 Nm (4.3 kgf-m, 31 ft. lbs.) in alphabetical sequence.
e. Tighten all bolts by 80 - 90° in alphabetical sequence.
f. Tighten all bolts by 40 - 45° in alphabetical sequence.

CAUTION: Tightening angle of the bolt must not exceed 45°.

g. Further tighten the bolts (a) and (b) by 40 - 45°.

CAUTION: Total "re-tightening angle" of the step (6) and (7) must not exceed 90°.





35. Install the oil level gauge guide and tighten the bolt. (LH side)
36. Install the rocker cover and rocker cover gasket.

NOTE: Use new rocker cover gasket.

37. Install the crank sprocket.
38. Install the cam sprocket.
39. Install the timing belt.
40. Install the timing belt cover.
41. Install the crank pulley.
42. Install the generator and A/C compressor brackets on cylinder head.
43. Install the V-belts.
44. Install the intake manifold.