Curiosii for ever!: Car repair manuals for everyone.

Front Seat




Front Seat:




Front Seat:






DISASSEMBLY

IMPORTANT: Refer to CAUTION in General Description before starting the work.

DRIVER'S SEAT

Remove the seat from vehicle.
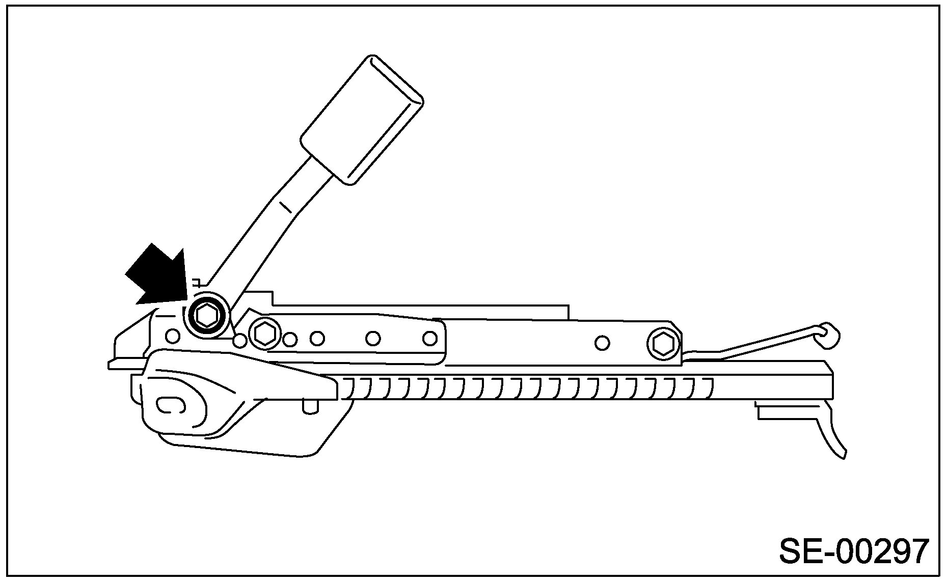
Remove the seat lifter cover using a flat tip screwdriver or equivalent, and then loosen the inside bolt to remove seat lifter lever.







Remove the reclining lever and seat hinge outer cover.







Remove the seat hinge inner cover.







Remove the inner belt.







Remove two bolts from reclining hinge on each side.







Remove the hook at bottom of backrest.







Open the zipper behind of backrest.







Remove the hog rings (A) of backrest cover.







Remove the hog rings (A) which secure the backrest cover and backrest pad.







Remove the headrest bushes.

NOTE: Push the headrest bushes to outside of seat from inside, and then remove them.







Pull out the backrest frame.
Remove the hog rings (A) at front of seat back, and then remove the seat back cover from seat back.







Remove the hooks (A), and then remove the seat cushion frame assembly.







Remove the connecting wire (A), and then loosen the bolts and nuts to remove slide rail.







Remove the inner belt.







Remove the hook (A), and then remove the seat cushion frame.







Remove the hog rings (A), and then remove the seat cushion cover from seat cushion pad.







Open the zipper at bottom of headrest, and then remove the headrest cover from headrest.







PASSENGER'S SEAT

Remove the seat from vehicle.
Remove the reclining lever and seat hinge outer cover outer.







Remove the seat hinge cover inner.







Remove the bolts from reclining hinge on each side.







Remove the hook at bottom of backrest.







Open the zipper behind of backrest.







Remove the hog rings (A) of backrest cover.







Remove the hog rings (A) which secure the backrest cover and backrest pad.







Remove the headrest bushes.

NOTE: Push the headrest bushes to outside of seat from inside, and then remove them.







Pull out the backrest frame.
Remove the hog rings (A) at front of seat back, and then remove the seat back cover from seat back.







Loosen the bolts and nuts to remove the seat cushion from slide rail.







Remove the inner belt.







Remove the hooks (A), and then remove the seat cushion frame.







Remove the hog rings (A), and then remove seat cushion cover from seat cushion pad.







Open the zipper at bottom of headrest, and then remove the headrest cover from headrest.







ASSEMBLY

DRIVER'S SIDE

Assemble in the reverse order of disassembly.

PASSENGER'S SIDE

Assemble in the reverse order of disassembly.

IMPORTANT:
1. Because it may cause the side airbag to activate incorrectly, observe the following steps to install the side airbag correctly.
- Be careful not to dirty or damage the backrest cover.

2. To avoid the improper operation of occupant detection system, strictly obey the following works at assembly of passenger's seat.
- Secure the hog ring using hog ring pliers.
- Install the hog ring to its original position, and not to twist or wrinkle the backrest cover.
- Never remove the occupant detection control module of occupant detection system (passenger's side only) and occupant detection sensor from seat cushion frame since the control module, the sensor, seat cushion pad and seat cushion frame are the seat cushion pad and frame assembly.
- Do not remove the seat position sensor from seat rail. (Driver's seat)
- If the seat cushion cover has been removed, be sure to replace wire on the seat cushion cover side with a new one. (Passenger's seat)
- Install the hog ring to the specified position correctly. Do not re-use the hog ring.