Curiosii for ever!: Car repair manuals for everyone.

Console: Service and Repair




Console Box:






REMOVAL

Disconnect the ground cable from battery.
Remove the console front panel.







Remove the shift knob (MT model).
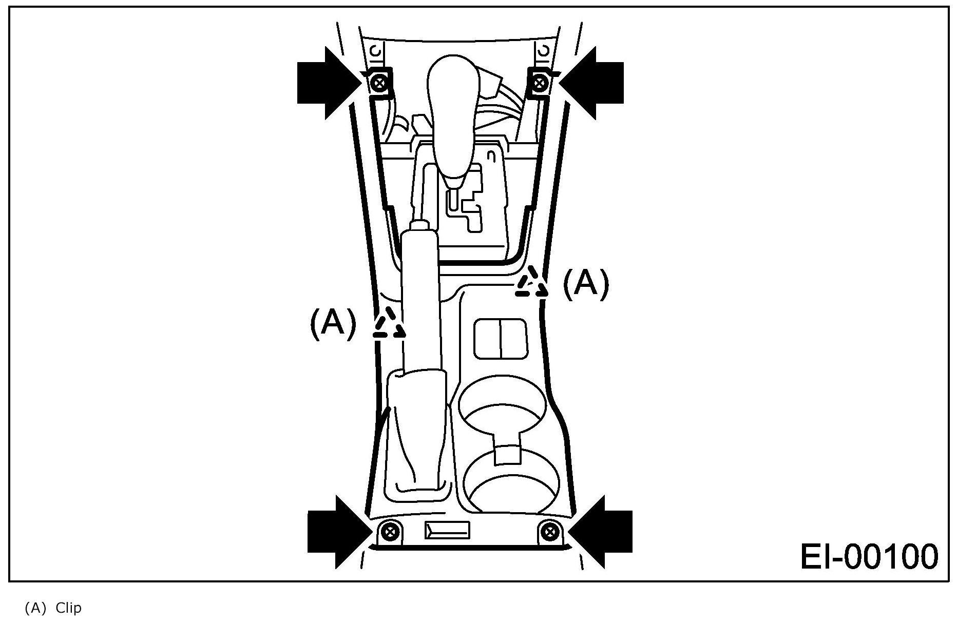
Remove the screws to remove console cover.







Remove the screws.







Remove the hook pawl of console side panel to remove console box.







INSTALLATION

Install in the reverse order of removal.