Curiosii for ever!
: Car repair manuals for everyone.
Home
>>
Saab
>>
2005
>>
9-2X F4-2.5L
>>
Repair and Diagnosis
>>
Transmission and Drivetrain
>>
Automatic Transmission/Transaxle
>>
Transmission Speed Sensor
>>
Locations
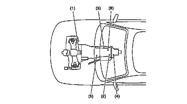
Transmission Speed Sensor: Locations
SENSOR
(2) Front vehicle speed sensor
(4) Rear vehicle speed sensor
(5) Torque converter turbine speed sensor