Curiosii for ever!: Car repair manuals for everyone.

Control Arm Bushing: Service and Repair

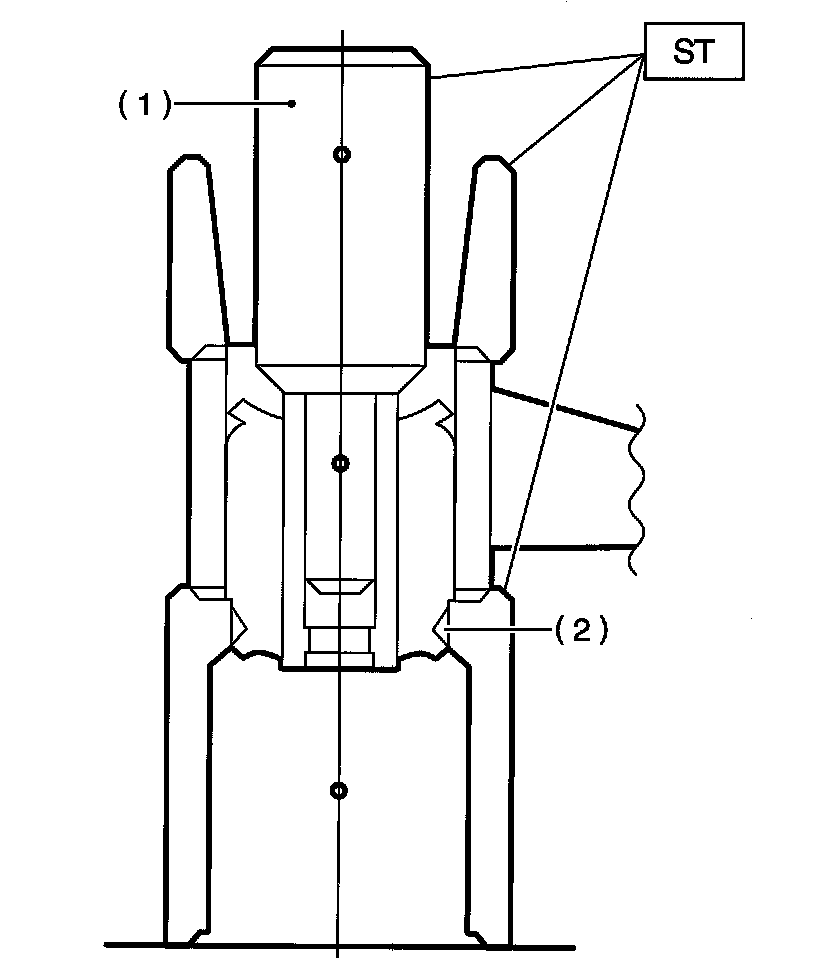
REAR BUSHING
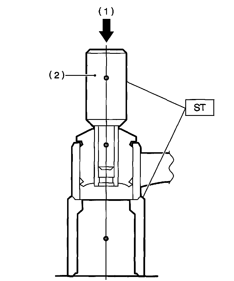
Remove the housing.
Using the ST, press the rear bushing out of place.
ST 32005222 INSTALLER & REMOVER SET




(1) Press
(2) Housing

ASSEMBLY
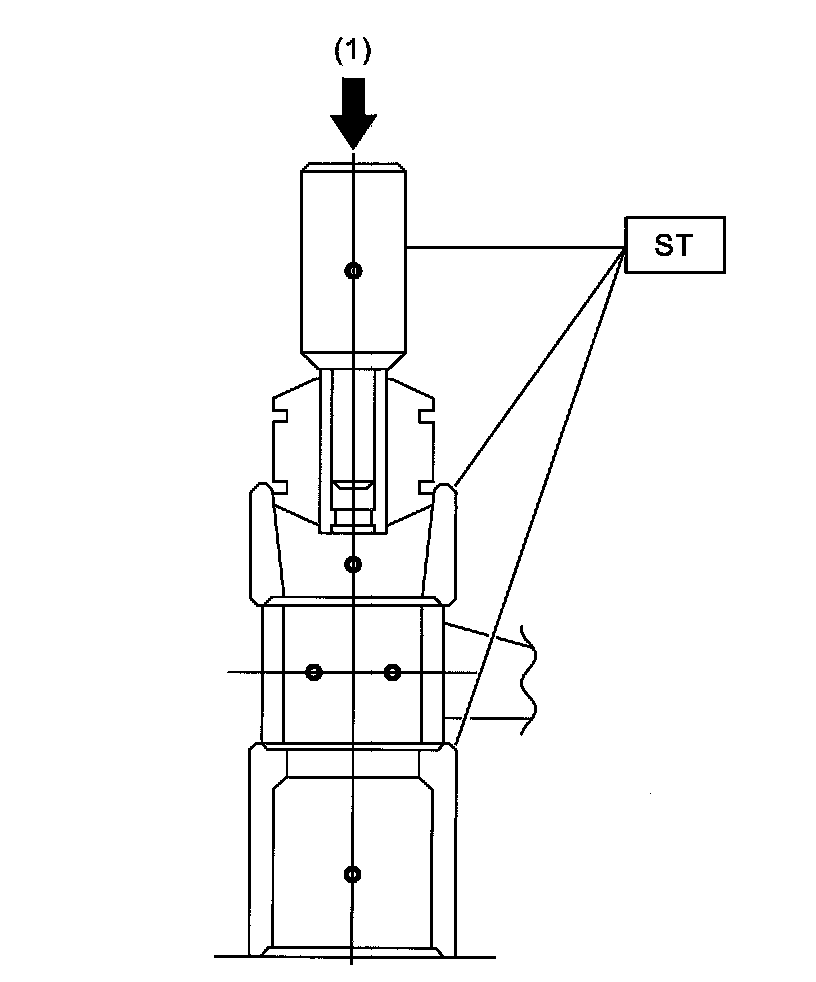
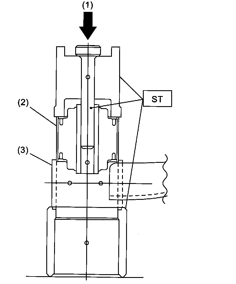
FRONT BUSHING
Using the ST, press the bushing into trailing link.
ST 32005221 INSTALLER & REMOVER SET

Important: Turn the ST plunger upside down and press it until the plunger end surface contacts the trailing link end surface.




(1) Press
(2) Front bushing
(3) Trailing link

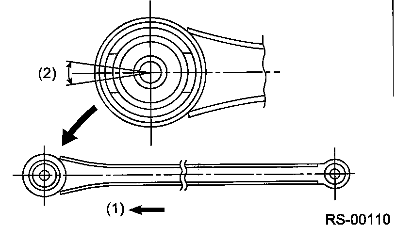
Important: Install the front bushing in the proper direction, as shown in the figure.




(1) Front
(2) ±5°

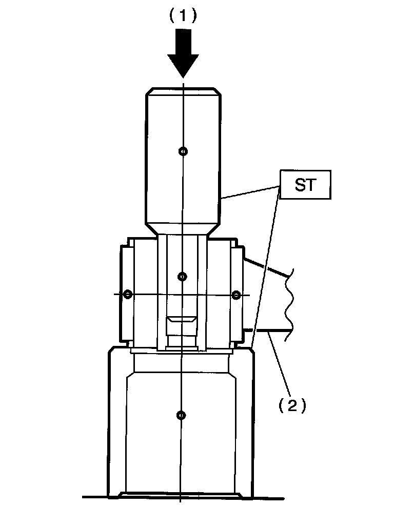
REAR BUSHING
Using the ST, press the bushing into trailing link.
ST 32005222 INSTALLER & REMOVER SET

Note: If it is difficult to press the bushing into trailing link, apply water-diluted TIRE LUBE to the inner surface of ST as a lubricant.

SPECIFIED lubricant: TIRE LUBE: water = 1: 3




(1) Press

Press the ST plunger until the bushing flange protrudes beyond trailing link.
ST 32005222 INSTALLER & REMOVER SET




(1) Plunger
(2) Flange

Turn the trailing link upside down. Press the ST plunger in the opposite direction that outlines in the former procedure until bushing is correctly positioned in trailing link.
ST 32005222 INSTALLER & REMOVER SET




(1) Press
(2) Plunger

Install the housing.