Console: Service and Repair
Console Box:
REMOVAL
Disconnect the ground cable from battery.
Remove the console front panel.
Remove the shift knob (MT model).
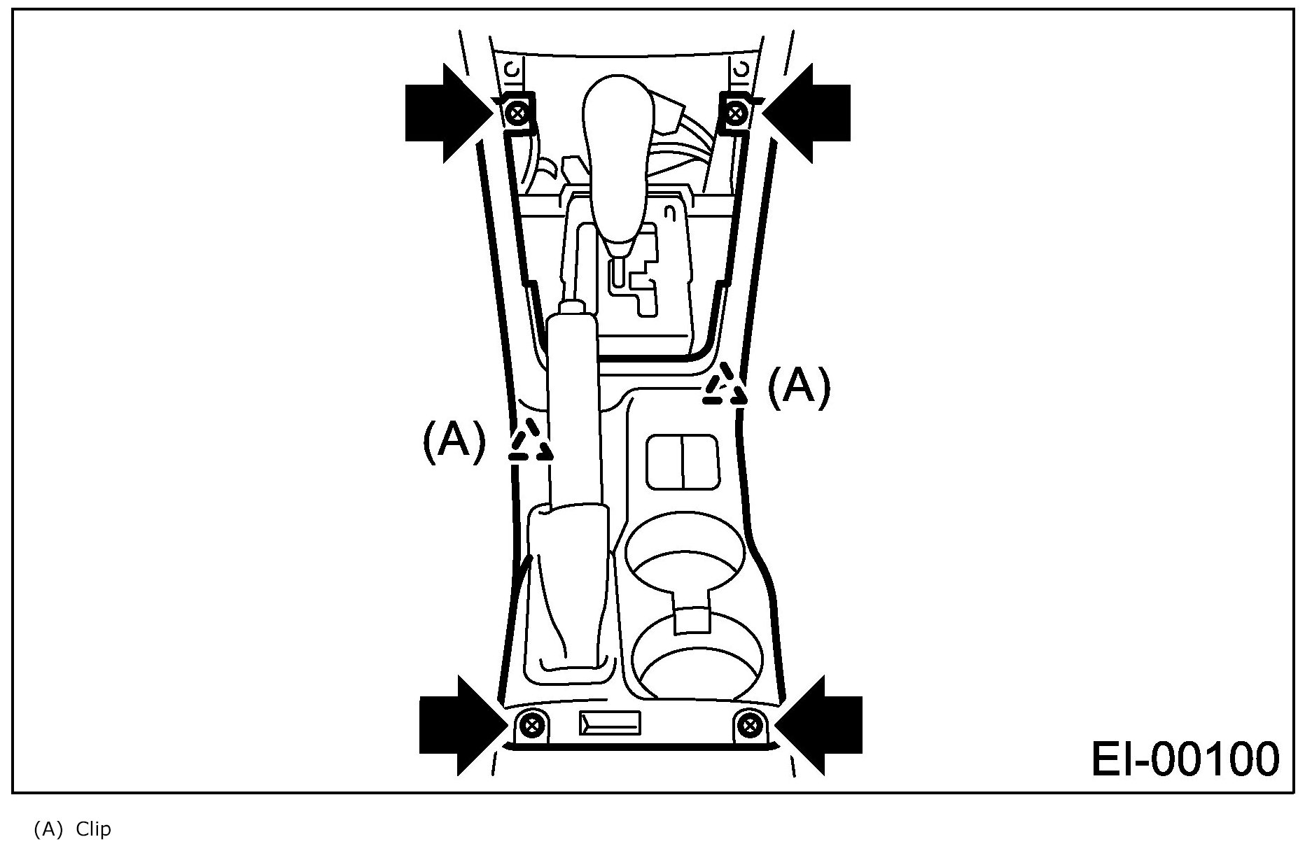
Remove the screws to remove console cover.
Remove the screws.
Remove the hook pawl of console side panel to remove console box.
INSTALLATION
Install in the reverse order of removal.