Curiosii for ever!: Car repair manuals for everyone.

A/T, Ignition Switch Contacts

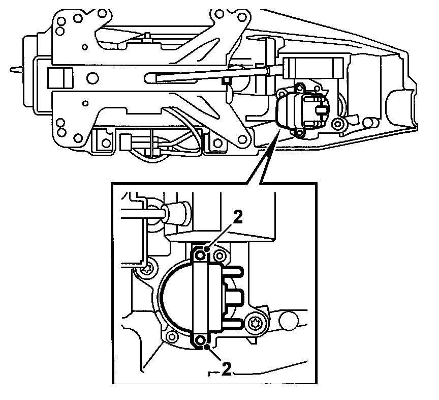
Ignition switch contacts
To remove





1. Remove the selector lever housing.

Important: When working on a dismantled selector lever housing, the selector lever should be protected with foam rubber or the like.

2. Remove the ignition switch contacts.

Fitting





1. Screw the ignition switch contacts in place. Use Loctite 242 thread-locking adhesive, part number 74 96 268, on the screws.
Carefully tighten the screws.
2. Fit the selector lever housing.