Curiosii for ever!: Car repair manuals for everyone.

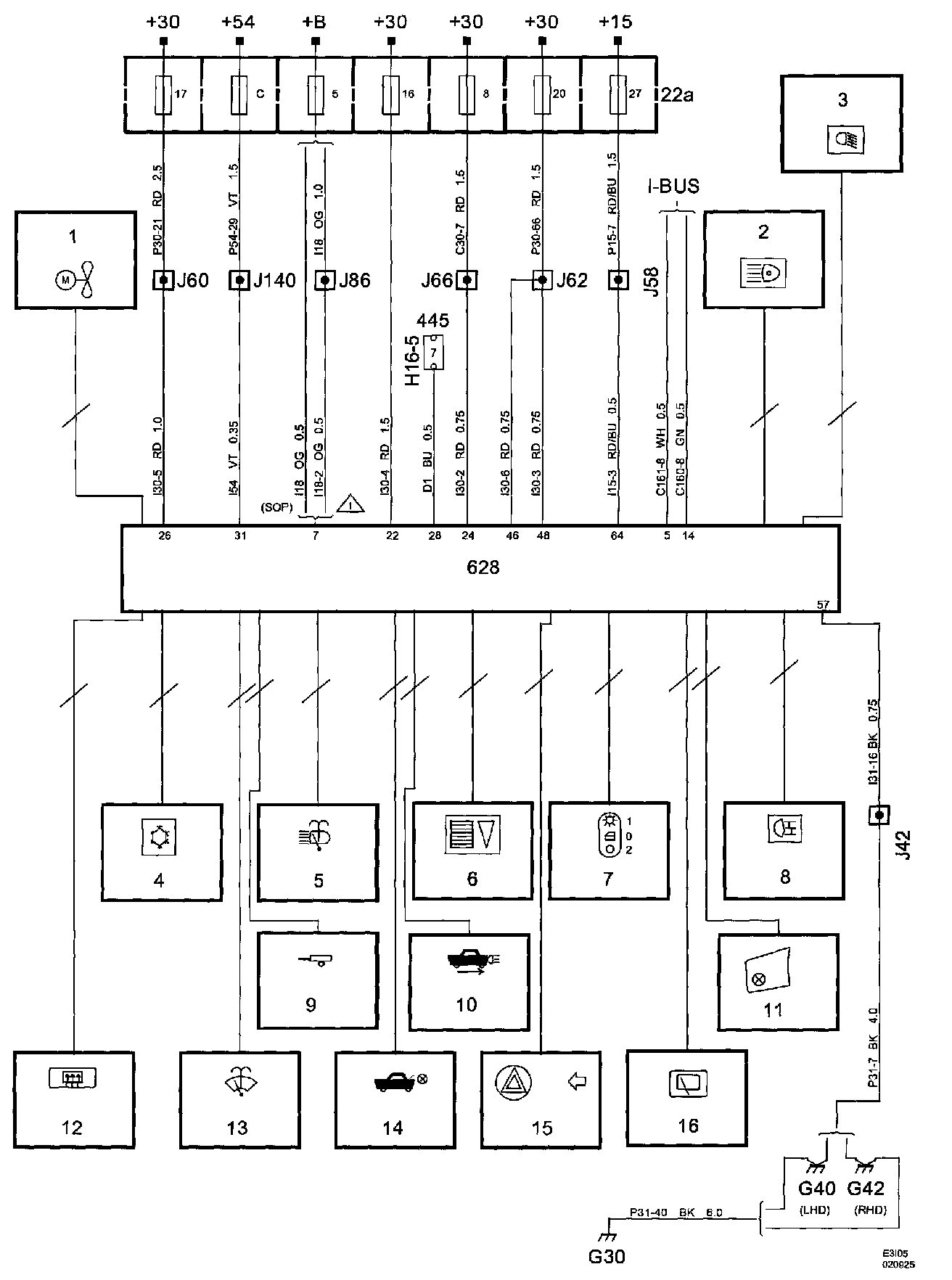
DICE









1. Radiator fan, dual fans
2. Headlamps
- Halogen
- Xenon, US/CA markets
- Xenon, other markets
3. Fog lights
4. Air conditioning, A/C
- Petrol engine
- Diesel engine
5. Headlamp cleaning
6. Lighting for buttons and controls
7. Interior lighting and reading lamps
8. Rear fog lights
9. Trailer connector
- 4D
- 5D
10. Reversing lights
11. Glove box lighting
12. Electrically heated rear window and door mirrors
13. Windscreen wipers
- Without rain sensor
- With rain sensor
14. Luggage compartment lighting
15. Direction indicators, hazard flashers
16. Rear window wiper 5D


List Of Components (Part 1):




List Of Components (Part 2):




List Of Components (Part 3):






Power Supply Diagrams: The diagrams for the power supplies that may be feeding this system (+30, +15, +54, +X and +B) can be found at Power and Ground Distribution diagrams Electrical Diagrams