Curiosii for ever!: Car repair manuals for everyone.

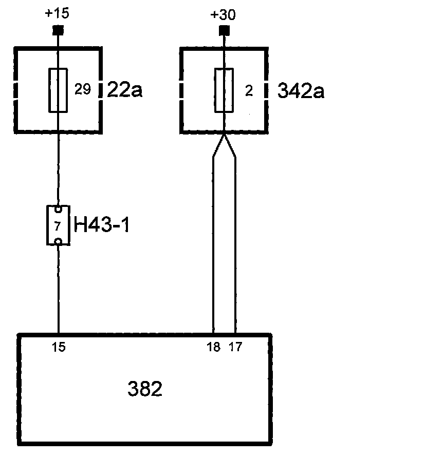
Power Supply, Control Module

Power supply
Battery voltage (+30 circuit)
The +30-circuit power supply goes via fuse 1 (342a) to pins 17 and 18 on the control module.








Battery voltage (+15 circuit)
The +15-circuit power supply goes via fuse 26 (22a) to pin 15 on the control module. When the +15 voltage is applied to pin 15, the control module is activated.

Diagnostics
If the voltage drops below 9 V DC for at least 0.5 seconds at vehicle speeds above 6 km/h (3.7 mph), diagnostic trouble code C1532 will be generated and the TCS and ABS functions will be disengaged at the same time as the warning lamps for ABS, brake fluid, central warning and TCS OFF go on.