Curiosii for ever!: Car repair manuals for everyone.

Front, Subframe Bushes

Subframe bushes
To remove
1. Remove the subframe.





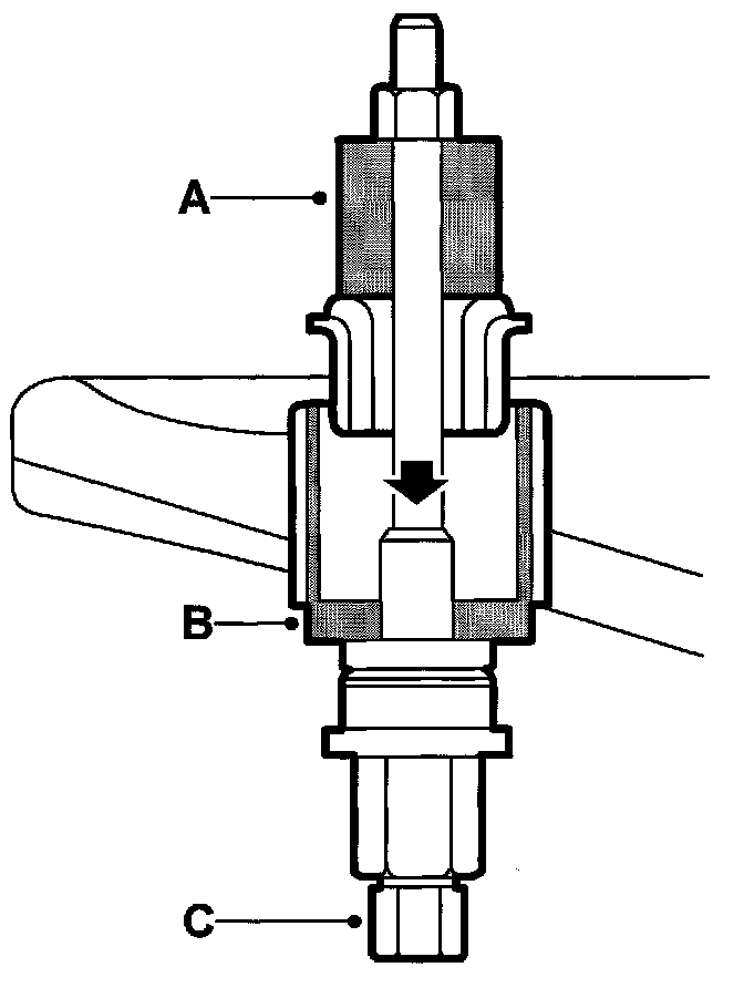
2. Remove the bush using 89 96 779 Press sleeve kit, front assembly.
A: KM-907-11
B: KM-907-12
C: KM-907-30

To fit

Important: The bush must be mounted with one opening facing forwards and one facing rearwards.





1. Lubricate the bush with soap solution and fit it using 89 96 779 Press sleeve kit, front assembly.
A: KM-907-14
B for front and rear bush: KM-907-13
B for middle bush: 89 96 878
C: KM-907-30
2. Fit the subframe.