Curiosii for ever!
: Car repair manuals for everyone.
Home
>>
Saab
>>
2001
>>
9-5 (9600) L4-2.3L Turbo (B235)
>>
Repair and Diagnosis
>>
Diagrams
>>
Connector Views
>>
Antilock Brakes / Traction Control Systems
>>
System Diagram
>>
TC/ABS 5.3 Related Connectors
>>
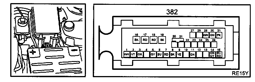
TC/ABS Control Module (382)
TC/ABS Control Module (382)