Curiosii for ever!
: Car repair manuals for everyone.
Home
>>
Saab
>>
2000
>>
9-3 Hatchback (9400) L4-2.0L Turbo (B205)
>>
Repair and Diagnosis
>>
Specifications
>>
Electrical Specifications
>>
Automatic Transmission/Transaxle
>>
Transmission Temperature Sensor/Switch, A/T
Transmission Temperature Sensor/Switch, A/T
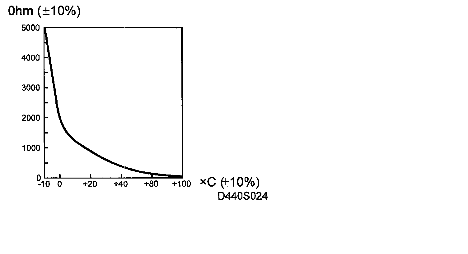
Transmission Fluid Temperature Sensor
Component Illustration:
Temperature/Resistance/Voltage Specifications Table:
Temperature/Resistance Graph: