Curiosii for ever!: Car repair manuals for everyone.

Ignition, Basic Function




1 Idling speed ignition timing
With idle speed control active, the timing is adjusted to stabilize the idling speed. The value is sent to box 3.







2 Normal ignition timing
When idle speed control is inactive, the ignition timing is read from a load and engine speed dependent matrix. The value from the matrix is optimized for the lowest fuel consumption (best engine torque). The value is sent to box 3.

3 Selection of ignition timing
One of the ignition timing calculations is selected depending on which function is active. The value is sent to box 6.

4 Compensation







The ignition timing is corrected depending on the engine coolant temperature and intake air temperature. The value is sent to box 6.

5 Knock control
If knocking occurs, a timing retardation will be calculated. The value is sent to box 6.

6 Total
The compensation angle and knock retardation are totaled to give the current ignition timing. The value is sent to box 7.

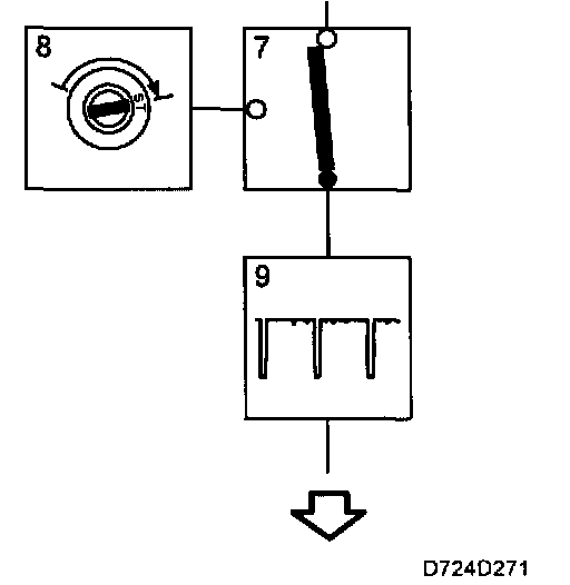
7 Selection of ignition timing
Starting ignition timing is selected when the engine has not yet been started. The value is sent to box 9.







8 Starting Ignition timing
The starting ignition timing is calculated depending on the intake air temperature and the coolant temperature. The value is sent to box 9 via box 7.

9 Activate relevant trigger
At the calculated crankshaft angle, the microprocessor controls the transistor for the trigger that is next in the firing order.