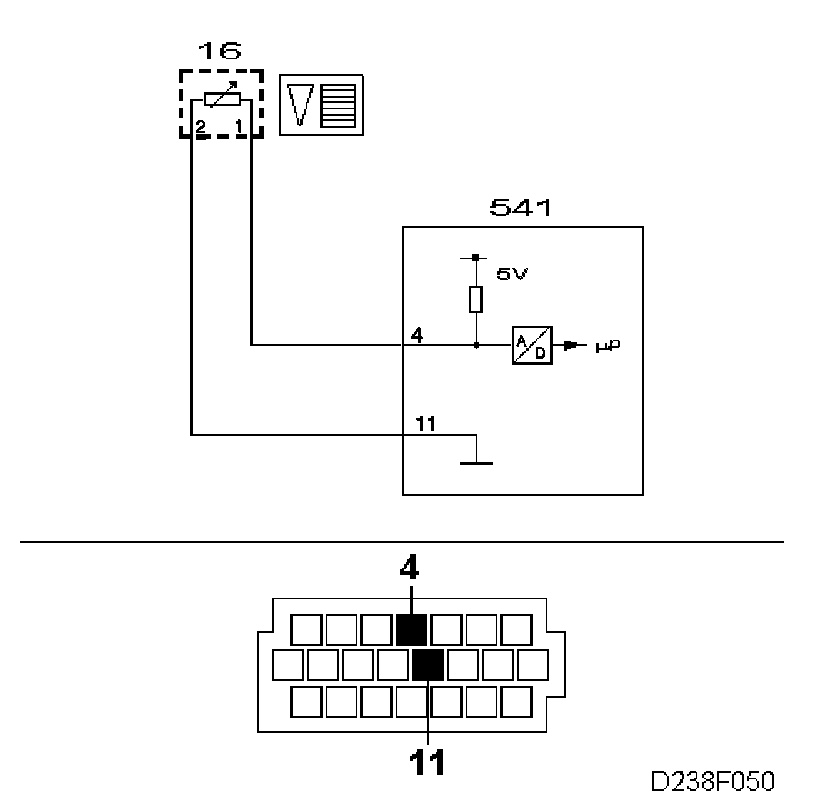
Checking the Control Module's Sensor Input
Checking the Control Module's Sensor Input
- Contact SID.
- Turn the ignition switch to the ON position.
- Connect a jumper lead between pins 1 and 2 of the female connector.
Reading: Rheostat Sensor
The reading should be 0 V - 0.2 V
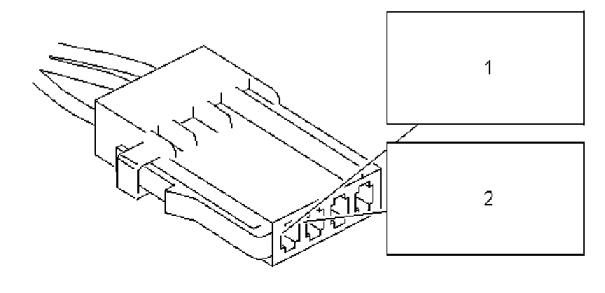
Checking the wiring harness.
Jiggle the leads and in-line connectors at several places and in different directions to reveal intermittent breaks and short circuits in the wiring harness. Observe the multimeter, test lamp or diagnostic tool while doing this.
Is the function correct?
NO - Rectifying the Lead - III
YES - Changing Components