Curiosii for ever!: Car repair manuals for everyone.

Climate Control Unit




Removing







WARNING
Read through safety and handling rules before starting any work. See Restraint Systems/Air Bag Systems/Service Precautions/Technician Safety Information.



1 Cars with A/C:
Drain refrigerant from the A/C system, see Refrigerant, A/C/Service and Repair.
2 Remove the dashboard.
3 Cars with A/C:
Part the A/C pipes by the bulkhead lead-through.
4 Fit hose clamp pliers part. No.30 07 739 on the hoses by the heater box.
5 Remove the hoses from the heater box.
6 Blow with compressed air in one pipe to drain remaining coolant from the heater box.
7 Remove the drain hose.
8 Remove the knee guard on the driver's side.







9 Cut the cable ties and remove the rear floor air ducts in front of the heater box.
10 Remove the air duct for the dashboard centre vent.
11 Remove the air ducts for the dashboard side vents.
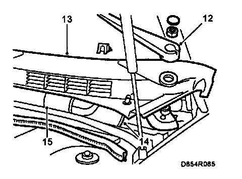
12 Remove the wiper arms.







13 Remove the cover over the bulkhead.
14 Remove the water deflector.
15 Remove the wiper unit.
16 Remove the bolts and nuts securing the dashboard member.







17 Remove the support by the climate control unit on the driver's side.







18 Cars with passenger side airbag: Remove the knee guard on the passenger side.







19 Disconnect the steering wheel pad and horn connectors.
20 Remove the bolt that secures the intermediate yoke to the steering gear.


WARNING
Secure the steering wheel to avoid damaging the coil spring.
If the basic setting of the coil spring is changed, the spiral-shaped guide in the coil spring is damaged when the steering wheel is turned to max steering angle. The airbag will not function and serious personal injuries could result in case of a collision
.


WARNING
The steering column must not be separated
.


NOTE: One method of securing the steering wheel is to fixate it with heavy fabric tape.


21 Remove the bolt that secures the support for the steering column to the dashboard member.
22 Remove both nuts that secure the steering column to the member and lift it out.
23 Remove the four nuts that secure the angular supports at the top of the pedal assembly.







24 Turn out the angular supports.
25 Turn out the dashboard member.







26 Remove both bolts that secure the main fuse box to the dashboard member.
27 Remove the dashboard member.


NOTE: Routing of cable harnesses.


28 Unplug the electric connectors on the climate control unit.
29 Remove the fresh-air filter.







30 Unplug the ventilation fan electric connector.
31 Remove the four bolts that secure the climate control unit by the ventilation fan.
32 Remove the bolt that secures the climate control unit to the lower part of the bulkhead.







33 Remove the climate control unit.

Fitting







1 Fit the climate control unit and tighten the four bolts by the ventilation fan.
2 Plug in the ventilation fan electric connector.
3 Fit the fresh-air filter.
4 Tighten the bolt that secures the climate control unit to the lower pan of the bulkhead.







5 Cars with A/C:
a Lubricate the new O-rings with synthetic vaseline and fit them on the A/C pipes.
b Remove the plugs, fit the A/C pipes and tighten the bolt.
6 Fit the coolant hoses on the heater box pipes and tighten the hose clamps.
7 Fit the drain hose and tighten the bolts.
8 Remove the top section of the climate control unit.







9 Fit the cable harness on the dashboard member.
10 Fit the main fuse box on the dashboard member and tighten the bolts.
11 Fit the dashboard member together with the angular supports.







12 Fit the top section of the climate control unit.
13 Tighten the nuts and bolts that secure the dashboard member.
14 Tighten the nuts that secure the angular supports.
15 Fit the steering column and fit the nuts that secure the steering column to the dashboard member.







16 Tighten the bolt that secures the intermediate yoke to the steering gear.
Tightening torque: 24 Nm (18 lbf ft)


IMPORTANT
The bolt groove in the pinion shaft.


17 Fit the bolt that secures the support on the steering column to the dashboard member.
18 Tighten both bolts that secure the steering column to the dashboard member.







Tightening torque: 24 Nm (18 lbf ft)
19 Tighten the bolt that secures the steering column support to the dashboard member.
Tightening torque: 24 Nm (18 lbf ft)
20 Plug in the electric connectors for the steering wheel pad and the horn to the coil spring.
21 Cars with passenger side airbag: Refit the knee guard on the passenger side.







22 Refit the support by the climate control unit on the driver's side.
23 Refit the air ducts.







24 Secure the electrical cabling for the rear floor air ducts with cable ties.
25 Refit the knee guard on the driver's side.
26 Refit the wiper unit.
27 Refit the water deflector.
28 Refit the cover over the bulkhead.
29 Refit the wiper arms.
30 Refit the dashboard.
31 Fill coolant.
32 Cars with A/C:
Fill refrigerant, see Refrigerant, A/C/Service and Repair.