Checking the Brake Lights Switch
Check The Brake Lights Switch
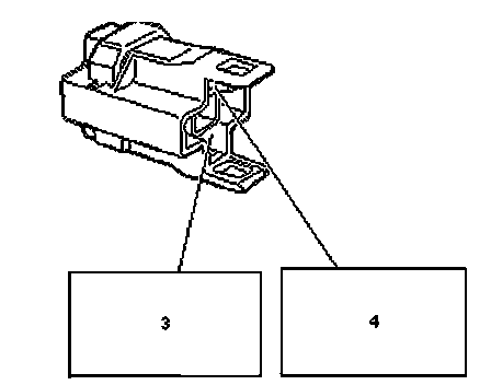
Unplug the connector.
- Brake lights switch (29)
- Connect a jumper lead between pins 3 and 4 of the female connector.
Is the function correct?
NO - Check Brake Light Switch
YES - Changing Components - II