Curiosii for ever!
: Car repair manuals for everyone.
Home
>>
Saab
>>
2000
>>
9-3 Hatchback (9400) L4-2.0L Turbo (B205)
>>
Repair and Diagnosis
>>
Cruise Control
>>
Relays and Modules - Cruise Control
>>
Cruise Control Module
>>
Description and Operation
>>
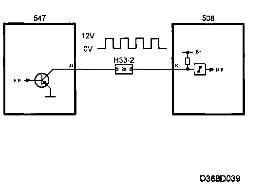
Vehicle Speed Signal From the ABS Control Module
Vehicle Speed Signal From the ABS Control Module
Vehicle Speed Signal From The ABS Control Module:
The control module receives a speed signal from the ABS control module. Speed signals from the LH front wheel are received on pin 10(K).