Curiosii for ever!: Car repair manuals for everyone.

Electronic Brake Control Module: Description and Operation






Description
The electronic control module is an integral part in the hydraulic unit and has a 26/31 pole connector block. The electronic control module has constant information about the wheel speeds signaled from the wheel sensors.

Operation
If one of the wheels as a stronger retardation than the others at braking, the boost pressure control valves in the electronic control module modulate the hydraulic pressure so that brake pressure can either be reduced or held constant so that each wheel receives maximum friction from the road surface. The electronic control module controls the braking power distribution between front and rear wheels using the boost pressure control valves. The electronic control module can also detect faults in electronic components in the ABS system and likewise in its own electronic circuits. If a fault is established the electronic control module will disengage the ABS modulation and the ABS warning lamp will come on.

Components
The electronic control module has:
- Main relay
- Pump relay
- 26/31 pole connector block

Main relay
The main relay is a part of the electronic control module and supplies the boost pressure control valves and pump relay with current. The main relay can not be changed separately.

Pump relay
The pump relay is a part of the control module and supplies the return pump with voltage. The pump relay can not be replaced separately.

Voltage supply and ground
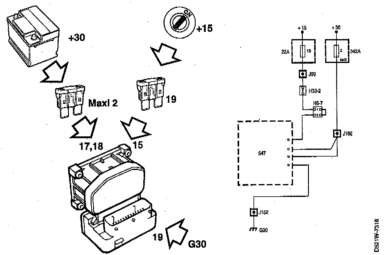
The electronic control module receives a voltage supply +30 from MAXI fuse 2 to pin 17 and 18. The electronic control module voltage receives a supply of +15 from fuse 19 to pin 15. The electronic control module is grounded from pin 16 to grounding point G30 The pump motor is grounded via pin 19 to grounding point G30




Electronic Control Module Input Devices




Electronic Control Module Output Devices





The ABS electronic control module receives information concerning each wheel speed from the sensors on each wheel. The other systems in the vehicle that require information about the vehicle speed receive it from the ABS electronic control module.

The ABS electronic control module receives vehicle speed information from the wheel sensors in the form of a.c. voltage of varying frequency. The a.c. voltage is processed in the electronic control module to four edged pulses that are transmitted to the following points.

Pin 26 transmits a speed signal from the front right wheel to:
- Motronic 2.10.3
- Motronic 2.8.1
- Motronic 5.2
- Motronic 4.1
- Trionic
- TCS

Pin 25 transmits a speed signal from the front left wheel to:
- CC (Cruise control)
- TCS

Pin 24 transmits a speed signal from the rear right wheel to:
- TCS
- Cabriolet

Pin 23 transmits a speed signal from the back left wheel to:
- MIU (speedometer)
- TCS
- Sensonic

If the voltmeter measurement is taken on one the pins concerned, the rating should change between 0V and approx. 12V when the respective wheel is slowly rotated. The signals are also transmitted when the ABS is out of operation and when the ABS lamp is on.




The electronic control module receives wheel speed information from the forward left wheel sensor at pin 7. The sensor is grounded at pin 6.
The electronic control module receives wheel speed information from the front right wheel sensor at pin 5. The sensor is grounded at pin 3.
The sensor module consists partly of a 29-point toothed wheel and partly of an inductive sensor.

The inductive sensor operates similar to a small a.c. generator that's sinusoidal potential increases with increasing wheel speed. The sinusoidal potential changes between negative and positive polarity, that is caused by alternating teeth and gaps on the gear wheel. The electronic control module uses this alternation of polarity like a pulsating transmitter. The pulse frequency increases with the wheel speed.

Using a multimeter adjusted to a.c. attached to the two conductors at the sensor it is possible to register a voltage of 100 mV when the wheel is rotated at 1 turn a second.

A wheel speed of 20 km/h gives approx. 5 V. If the sensor fails or an open-circuit occurs in the circuit the ABS function ceases and the ABS indicator lamp comes on.

The distance between the sensor and the toothed wheel should be 0.6+0.3 mm. The measurement is not adjustable.




The electronic control module receives wheel speed information from the rear tort wheel sensor at pin 9. The sensor is grounded at pin 8.
The electronic control module receives wheel speed information from the rear right sensor at pin 2. The sensor is grounded at pin 1.
The wheel sensors are integrated into the wheel hubs and consist of an inductive sensor with 29 teeth.

The inductive sensor operates similar to a small a.c. generator that's sinusoidal potential increases with increasing wheel speed. The sinusoidal potential changes between negative and positive polarity, generated by alternating teeth and gaps on the gear wheel.

The wheel sensors are manufactured differently from the front wheel sensors and are not as sensitive to wheel bearing play. Using a multimeter set at a.c. attached to the two conductors of the sensor it should be possible to register a voltage of 1100 mV when the wheel is rotated 1 turn per second.
A wheel speed of 20 km/h gives an approx. reading of 5 V.

If the sensor should fail, or an open-circuit occurs in circuit the ABS function disengages and the ABS lamp comes on.