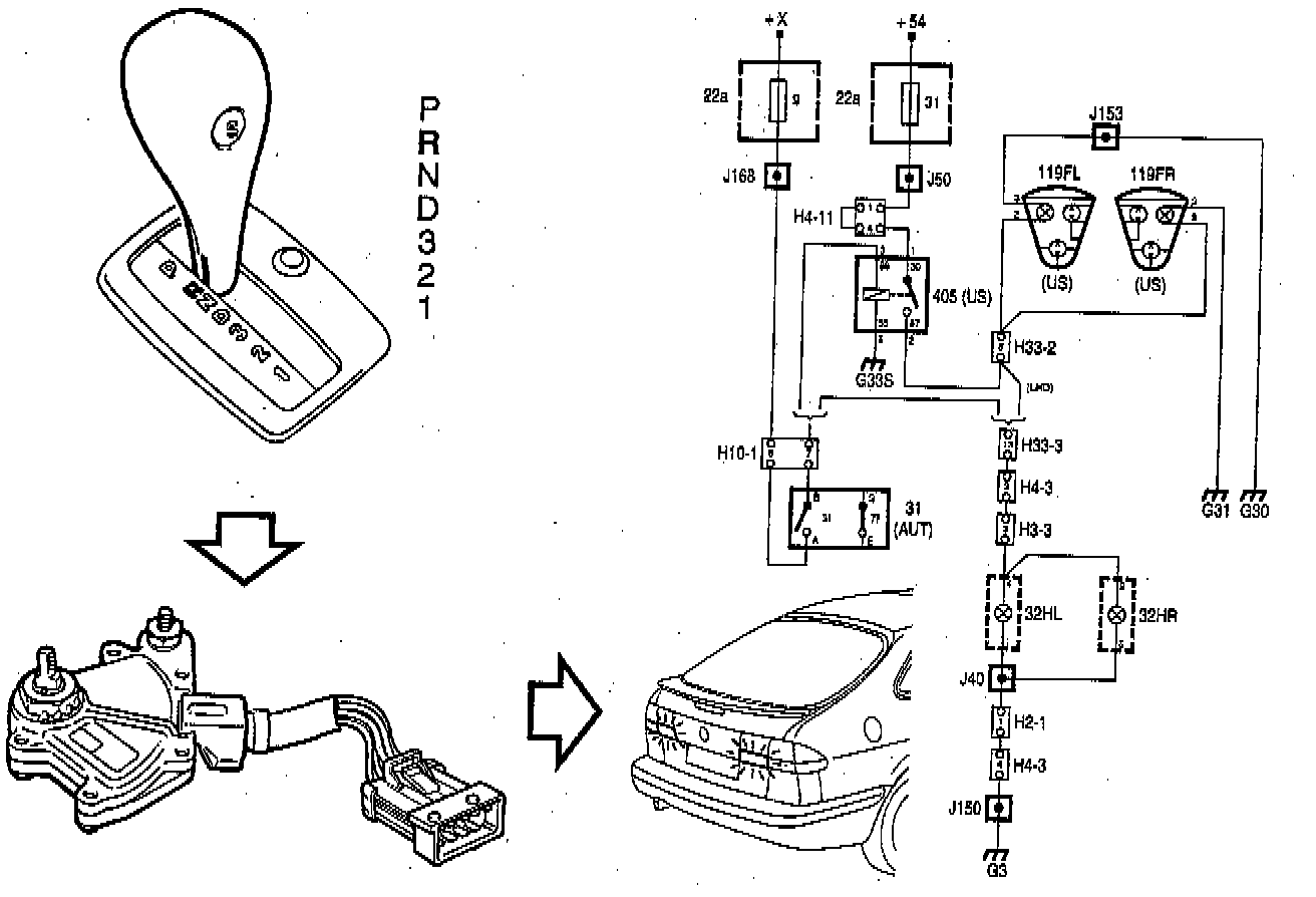
Reversing Light Switch
On cars with automatic transmission, the reversing light switch (31) is integrated with the gear selector position sensor.
Pins 1 and 2 of the switch (31) are used to control the reversing lights.
When gear position R is selected, the positional switch is closed and current is supplied to the reversing lights.
In other gear positions the positional switch is open.
The positional switch controls the reversing light relay (405) which supplies all reversing light bulbs with current.