Curiosii for ever!: Car repair manuals for everyone.

D/R Input





D/R INPUT (AUTOMATIC TRANSMISSION)

1. Use the ISAT command "DRIVE SIGNAL" in the "READ ON/OFF" menu. The ISAT display should read NO in selector positions P and N and YES: in all other selector positions.

2. Start the engine and check whether any major "dips" in idling speed occur when shifting from P or N to any of the selector positions 1, 2, 3, D or R.
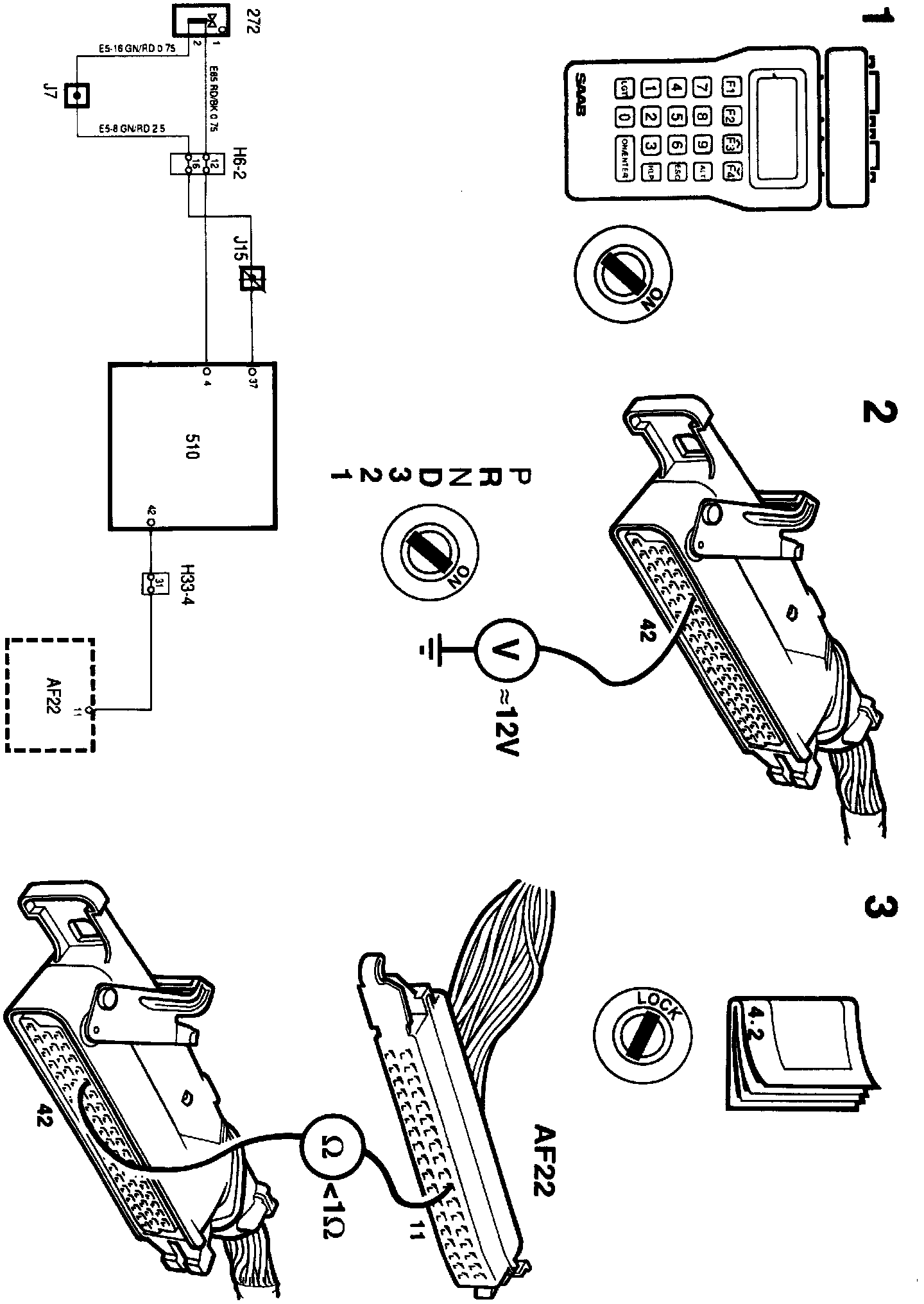
If this is the case, check whether current is present on pin 42 of the MOTRONIC control module when any of the selector positions R, D, 3, 2, 1 is engaged.

If current is present, proceed to step 5.
If it is not, continue with step 3.

3. Check the operation of the automatic transmission, see "Automatic Transmission/Description and Operation" at "Transmission Control systems".

Also check the lead between pin 11 of the automatic transmission and pin 42 of the MOTRONIC control module for continuity/shorting.





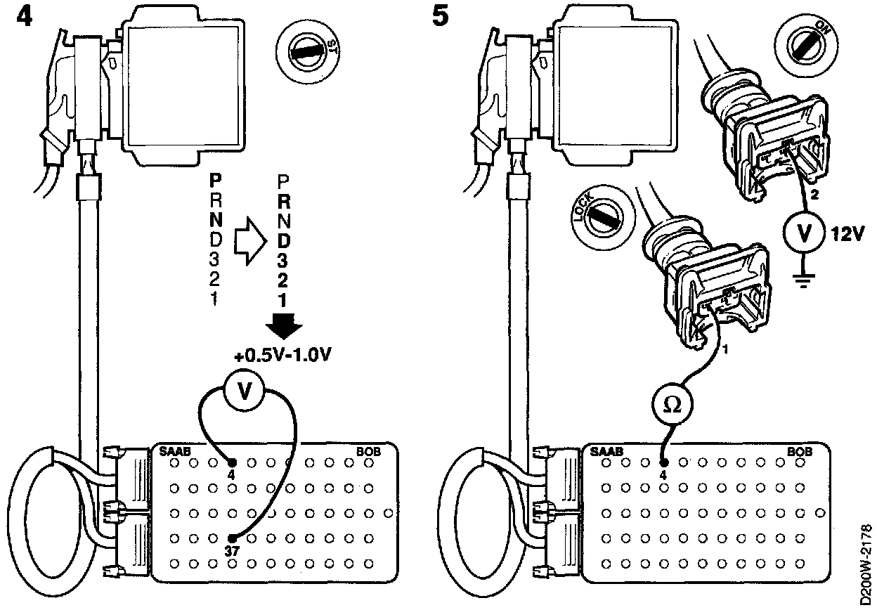
4. With the ignition switched OFF, connect a BOB to the MOTRONIC control module.
Start the engine and take a reading on pin 4 to see whether the voltage increases by about 0.5-1.0 V when any selector position is engaged.

If the voltage increases but "dips" in engine idling speed occur, continue with step 5.
If the voltage does not increase, proceed to step 6.

5. Check whether battery voltage is applied to pin 2 of the Idle Air Control (IAC) valve.

Also check the lead between pin 4 of the control module and pin 1 of the IAC valve for continuity/ shorting. (Any faults here should cause diagnostic trouble code P1211 or P1212 to be generated.)

Also check the mechanical operation of the IAC valve for binding, air flow, etc.

6. If "dips" in idling speed still occur when any gear is selected in spite of the above diagnostic tests having been carried out, continue at "Before Replacing Control Module" for further diagnostic instructions. Before Replacing A Control Module