Curiosii for ever!: Car repair manuals for everyone.

TCS Active





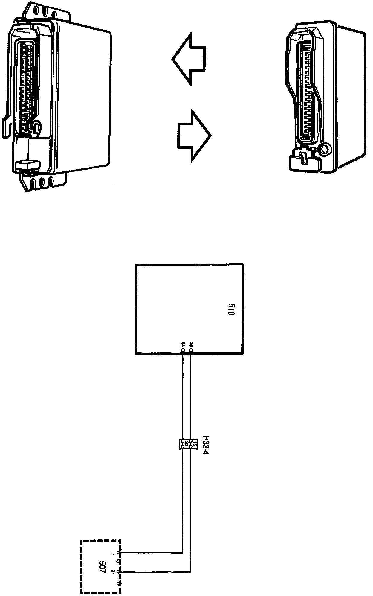
PRINCIPLE OF OPERATION, TCS ACTIVE (FULL LOAD DISCONNECTION)
When the Traction Control System (TCS) is activated, the TCS control module puts out a 62 Hz PWM signal from pin 21. The PWM signal is received on pin 38 of the MOTRONIC control module which then disconnects the full load enrichment function.

Using a voltmeter, a reading of about 6 V should be obtained on pin 38 of the MOTRONIC control module when the TCS is activated. When the TCS is inactivated, a reading of 0 V will be obtained.

Checking Function
To check whether the TCS active function is OK, a test is carried out every time the engine is started. With the ignition switched on and the starter motor turning the engine over, the MOTRONIC control module puts out a temperature signal on pin 54 (throttle position signal when driving). When the TCS control module receives this signal on pin 11, it answers by sending back a 31 Hz signal from pin 21 (normal TCS active signal) to pin 38 of the MOTRONIC control module. Both signals are of square wave type.

If the TCS control module does not receive a temperature signal from the MOTRONIC control module, the TCS will generate a diagnostic trouble code. If the MOTRONIC control module does not receive an answer from the TCS control module, a diagnostic trouble code will be generated in the MOTRONIC