Curiosii for ever!: Car repair manuals for everyone.

Ignition Spark/Triggering





PRINCIPLE OF OPERATION, IGNITION SPARK/TRIGGERING

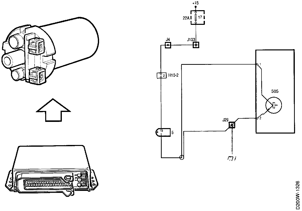
Ignition Coil
The ignition coil in the MOTRONIC 2.10.2 system is of conventional design for electronic ignition systems having low resistance. The ignition coil supplies the spark plugs with high tension, which at full engine load amounts to about 30,000 volts.

The ignition coil is controlled by the ignition output stage, which in the MOTRONIC system is incorporated in the control module.

The ignition coil has two connector pins, +15 and -1, but only one is used. Via pin 1 of the control module, the ignition output stage grounds or "opens" the connection to pin 1 of the ignition coil, causing the coil to generate a spark. Triggering of this signal is controlled momentarily on the basis of the engine load (Tq) and engine speed (RPM).

At idling speed the frequency on pin 1 is about 30-32 Hz.

The cylinder which is to have a spark is determined by the distributor.