Curiosii for ever!: Car repair manuals for everyone.

Fuel System Monitoring

6 FUEL SYSTEM MONITORING

6.1 General specific description of lambda control strategies

To minimize the emissions of motor vehicles, an exhaust gas aftertreatment system is installed after the combustion engine.

This system consists primarily of the following components: oxygen sensors, which measure the exhaust gas composition in the gas phase, and the catalytic converters, which ensure the active conversion of the combustion residues emitted by the engine.

Additionally to these hardware components, a control system is required.
The purpose of this control system is to ensure an exhaust gas composition that enables a maximum conversion rate of the released emissions by the exhaust gas aftertreatment system that is installed after the combustion engine.

As shown in the illustration below, the signals from the oxygen sensors are transmitted to the engine control module (ECM) and serve for further engine management calculation.
As an example, the following figure shows a system with one catalyst near the engine and one underfloor catalyst.






As mentioned before, the purpose of the lambda control system is to adjust the fuel injected to the engine. This produces an exhaust gas composition that enables an optimum conversion rate to be achieved by the hardware configuration of the exhaust gas aftertreatment system.

The adjustment of the exhaust gas composition is achieved by slightly varying the amount of fuel injected into the combustion chambers of the engine.

Due to the chemical reactions, the achievable conversion rate of the catalyst is subject to several limitations. Considering the functional principle of the lambda control system, the restrictions that must be considered for a catalyst with operational temperature, must be taken into account.

One of the main influencing criteria that must be considered is that a catalytic converter (catalyst) can only enable the chemical conversion of the exhaust gas components contained in the exhaust gas flow.
The chemical reactions are the OXIDATION of carbon monoxide (CO) and hydrocarbons (HC) and the REDUCTION of nitrogen oxides (NOx).

Due to the reaction process, oxygen is used during the oxidation, and it is released during the reduction. Hence, the effect of the carbon monoxide (CO) and the hydrocarbon (HC) conversion rate will be reduced drastically when the exhaust gas composition lacks oxygen (lambda < 1).

With a surplus of oxygen in the exhaust gas (lambda > 1), the conversation rate of nitrogen oxides (NOx) reduces, accordingly.
See this behavior in the following figure.






Additionally, insufficient or excessive oxygen resulting from temporary deviations of the optimum exhaust gas composition can be compensated by taking oxygen from the oxygen stored within the catalyst or storing it there, correspondingly.

This process, however, is only feasible within the maximum Oxygen Storage Capacity (OSC) of the catalyst.
The corresponding correlation is shown on the next page.






To summarize, the task of the lambda control, which leads to a mixture control eventually, can be described as the provision of the catalyst with a mixture composition that ensures the maximum conversion of the exhaust gas components even with varying engine conditions (varying loads and speeds).

The exhaust gas composition post the catalyst is measured by a binary oxygen sensor.
See the following corresponding characteristic sensor curve.






The next figure illustrates the response of the oxygen storage, by showing the lambda signal downstream of the catalyst with respect to the charge state of the oxygen storage.






6.1.1 Principle of Operation of a Balanced Modulation Control
One disadvantage of a fixed frequency control is that it can only respond to a change of the oxygen charge state by means of the control loop downstream of the catalyst, the so-called trim control.

The correlation between the sensor voltage and the oxygen charge state of the catalyst can also be seen from the graph of Figure 16: Signal of the binary oxygen sensor with respect to lambda and with respect to the oxygen storage state of the catalyst

Hence, a disturbance in the charge state of the catalyst oxygen storage cannot be adjusted before the conversion performance of the catalyst is affected, and thus not before the binary oxygen sensor downstream of the catalyst has detected a deviation from the setpoint lambda value downstream of the catalyst.

Using balanced modulation control, the disadvantage of the fixed frequency control, that it can only respond to a deviation of the oxygen charge state with a delay by adjusting the oxygen sensor voltage downstream of the catalyst, is compensated by the balancing of the charge state of the oxygen storage. This means that a disturbance in the charge state of the oxygen storage can be adjusted before the catalyst's conversion performance decreases, which would cause a change of the sensor voltage downstream of the catalyst.

Hence, the difference between the balanced modulation control and the fixed frequency control is that in the case of the balanced modulation control, the control variable is the charge state of the catalyst oxygen storage, rather than the lambda value upstream of the catalyst.
Therefore, after a disturbance, the control does not immediately adjust the lambda value to 1, but the charge state of the oxygen storage is adjusted to the setpoint value.
This behavior is illustrated in the following figures






Figure 17 shows the principle that, after a disturbance the lambda value is not immediately re-adjusted to 1, but in the present case of a lambda deviation to "lean", the oxygen charge is first adjusted to "rich" with an oxygen discharge of the same amount.

In this way it can be guaranteed that the charge state of the oxygen storage after the disturbance and after the adjustment is identical to the state before the disturbance, owing to the balanced lambda control, see following figure






Figure 18 also shows that the control variable is defined by a setpoint charge state of the oxygen storage.

This given setpoint charge state of the catalyst can be stored in a characteristic map, with respect to the exhaust gas mass and the aging state of the catalyst.






The advantage of such a control is, that with a more precise adjustment of the charge state of the oxygen storage, a reduced NOx conversion of the catalyst can be prevented, especially when the oxygen storage is overcharged.

The comparison of the illustrations with and without OSC balancing shows this behavior.






The comparison of the deviation of the sensor voltage downstream of the catalyst shows that the effect of the disturbance of the exhaust gas composition upstream of the catalyst can be adjusted faster with the balancing and that as a result, the rear oxygen sensor signal reaches the setpoint value earlier.






Hence, by generating a state observer which models the charge state of the oxygen storage, a disturbance can be adjusted, before the catalyst conversion is affected.

In the following figure, the state observer is represented by the catalyst model integrator.
The charging level of the catalyst model integrator is compared to a setpoint value, and subsequently, the control difference is fed to the balance controller.
The output of the balance controller, in turn has an influence on the setpoint lambda value.






6.1.2 Influence of the Oxygen Charge State of the Catalyst on the Conversion
The following diagrams explain the correlation between the oxygen charge state of the catalyst and the conversion of the exhaust gas components.
The oxygen storage contained in the catalyst is symbolically illustrated in the catalyst drawings.

The big red "balls" in the catalyst drawings of the following illustrations represent a completely charged oxygen storage state, while the big grey "balls" represent a completely discharged oxygen storage state.
The oxygen storage is represented in the illustration by different oxidation levels of the ceroxide, being CeO2 and Ce2O3.

The oxidation of carbon monoxide and of unburnt hydrocarbon compounds results in a discharge of the oxygen storage, while the reduction of nitrogen oxides results in a charge of the oxygen storage.

The following figure shows the state of the catalyst when it is charged with 50 percent of oxygen and when a stoichiometric exhaust gas mixture (lambda = 1) is supplied to it.
Both the conversion rates of the exhaust gas components that are oxidized (HC, CO), and the conversion of the exhaust gas components that are reduced (NOx), are very high, and the exhaust gas mixture leaving the catalyst is stoichiometric.






The next figure shows the state of the catalyst when a rich exhaust gas mixture was supplied to it, and subsequently a lean exhaust gas mixture is supplied to it.
Until the time t1, the catalyst was supplied with a rich exhaust gas mixture, which is why the oxygen storage was empty at the time t1.
The more lean exhaust gas mixture that is supplied to the catalyst, the more the oxygen storage is charged, starting at the gas entrance location.
As long as the oxygen storage is not completely charged, the exhaust gas composition downstream of the catalyst is lambda = 1, in spite of being supplied with lean exhaust gas.

In addition to that, a good NOx conversion is present when the oxygen storage is partially charged, despite being supplied with lean exhaust gas.






From the time t2 onwards, the oxygen storage of the catalyst is completely charged with oxygen (see figure below). At the time t2, a lean exhaust gas composition is present downstream of the catalyst, and a drastic drop in the NOx conversion occurs.






The transition from lean to rich corresponds to the transition from rich to lean (see figure below).

At the start of the changeover, a stoichiometric exhaust gas composition is present, in spite of the supply of a rich exhaust gas mixture to the catalyst.
This is due to the fact that the oxygen required for the oxidation of the unburnt hydrocarbon compounds and the carbon monoxide can be extracted from the oxygen storage of the catalyst.
This is why a constant discharging of the oxygen storage can be observed.
During this phase, the conversion rate of the unburnt hydrocarbon compounds and the carbon monoxide is at a high level.






An increasing oxygen storage discharge results in a decrease of the conversion performance, and a rich lambda signal downstream of the catalyst.
As the oxygen storage of the catalyst is discharged, it is no longer possible to extract the oxygen required for the oxidation from the oxygen storage, and as a result, the conversion performance of the catalyst, concerning the components which have to be oxidized, decreases.
The following figure shows the respective processes.






The aim of the balanced lambda control is to prevent the oxygen storage from being completely charged or discharged, and thus to prevent the conversion rate from being reduced.

6.2 Air / fuel system monitoring

6.2.1 General description

Fuel Injection System
In comparison to conventional systems the gasoline is not injected into the intake manifold but directly into the combustion chamber.
Due to the higher pressure level in the combustion chamber, e.g. during the compression stroke, a high pressure fuel injection system is used.

Mixture Pilot Control
The air flow sucked in by the engine the engine speed and fuel pressure are measured. These signals are used to calculate an injection signal. This mixture pilot control follows fast load and speed changes.

Lambda-controller
The ECM compares the oxygen sensor signal upstream the catalyst with a reference value and calculates a correction factor for the pilot control.

6.2.2 Monitoring function description

Adaptive pilot control
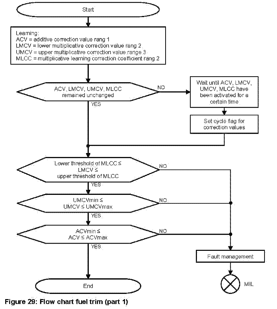
Drifts and faults in sensors and actuators of the fuel delivery system as well as unmeasured air leakage influence the pilot control. The controller corrects amplitudes increases. If there are different correction values needed in different load speed ranges, a certain time passes until the correction is complete. The correction values will be determined in three different ranges.

Fuel trim
The basic air/fuel ratio control using the signal from the front O2 sensors(s) is corrected by an adaptation calculation. This adaptation results in a factor which is applicable for the whole working range. (e.g. 20%)
A further trim control based on the signal(s) from the rear O2 sensor(s) is correcting the adaptation factor.
Therefore this trim control is working in the same way in the whole range. If the trim control reaches the allowed limit (e.g. 2%) the fault code for fuel delivery trim control is set.
Any deviation from the characteristic curve of oxygen sensor upstream catalyst due to poison will be detected by the control loop downstream catalyst.

6.2.3 Chart and flow charts air / fuel system monitoring






Lambda deviations in range 1 are compensated by an additive correction value multiplied by an engine speed term. This creates an additive correction per time unit.

Lambda deviations in range 2 are compensated by multiplication of a factor.

Lambda deviations in range 3 are compensated by multiplication of a factor (optional depending on individual calibration).

A combination of all two (three) ranges will be correctly separated and compensated.

Each value is adapted in its corresponding range only. But each adaptive value corrects the pilot control within the whole load/speed range by using a linear interpolation formula. The stored adaptive values are included in the calculation of the pilot control just before the closed loop control is active.

Diagnosis of the fuel delivery system
Faults in the fuel delivery system can occur which cannot be compensated for by the adaptive pilot control. In this case, the adaptive values exceed a predetermined range.
If the adaptive values exceed their plausible ranges, then the MIL is illuminated and the fault is stored.

Flow chart: fuel trim






Flow chart: fuel trim (part 2)






6.2.4 Similar conditions for fuel system
The fuel system monitor runs in different ranges of the engine map. Faults at idle are detected in the Range 1, faults off idle in the Range 2 and if applicable faults at higher load in a Range 3. It depends on the engine type whether it is necessary to use a third range.






The OBD system uses two ranges, Range 1 and Range 2. Although monitoring runs only within the two ranges the results are not independent from each other.
A pending code found in one of the ranges would be confirmed in either of the ranges. Healing of a pending or confirmed code needs pass results in both ranges.
Consequently any decision leads to the same P-code, valid in the whole working range:
- P0171 System too lean
- P0172 System too rich

Extended monitoring range for fuel delivery system trim control DTC
The basic air / fuel ratio control using the signal from the front oxygen sensor is corrected by an adaptation calculation. This adaptation results in a facto that is applicable for the whole working range of the fuel adaptation, e.g. 24% - 65% load and 1500 - 4000rpm engine speed.
A further trim control based on the signal from the rear oxygen sensor is correcting the adaptation factor. Therefore, this trim control is working in the same way in the whole range. If the trim control reaches the allowed limit the fault code for fuel delivery trim control is set.
Applying the whole range would allow to confirm or erase a fault code under different conditions than first detected and thus come to a faster decision. Using this whole range for monitoring this function rather than the limits given in sect (c)(33), as seen in the following graph: