Curiosii for ever!: Car repair manuals for everyone.

Fuel System Monitoring

Fuel System Monitoring

Diagnostic Overview / Monitoring Function:
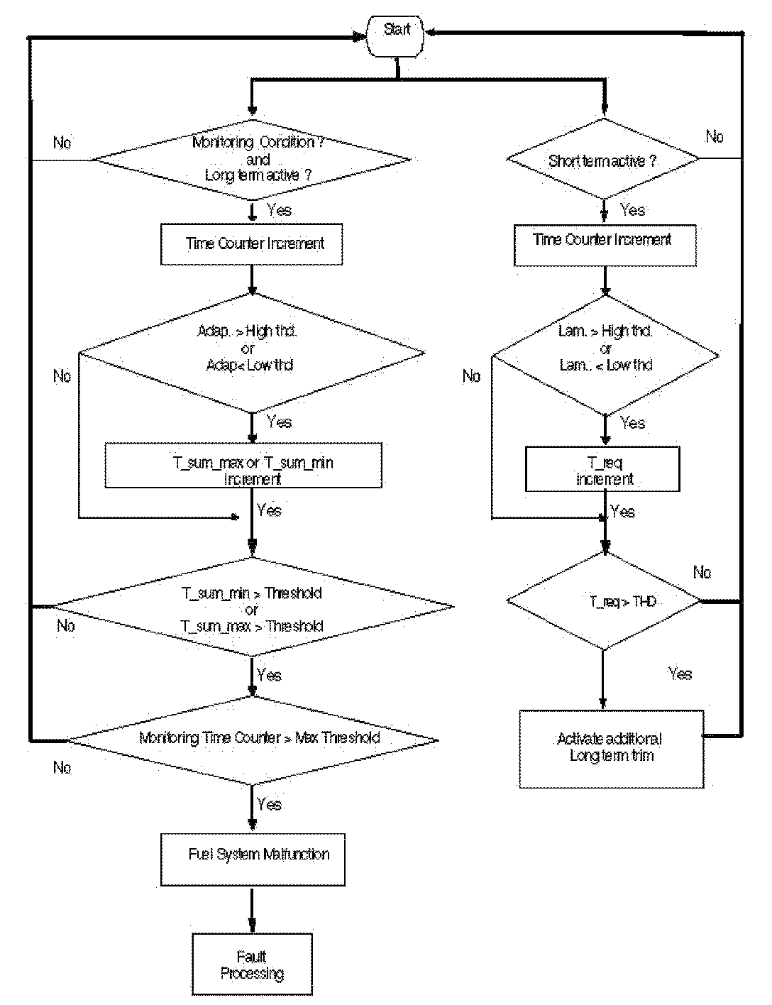
The fuel system diagnosis is monitoring the long term fuel trim deviation based on the lambda adaptation function. This evaluation of the long term fuel trim is active during its learning process and is not active during canister purge phases of the evaporative system. Because of this an additional learning process (forced adaptation) can be started in case of large deviations of the short term fuel trim (lambda controller) and the evaluation can run. When monitoring conditions are met different timers are started to react on failure and no failure case.

If no failure symptom is present the end of diagnostic timer is incremented and when exceeding a calibration threshold diagnostic is declared to be passed without failure.

The error is detected as soon as one of the timers reaches its calibration threshold.

Similar Conditions Function:
When the engine management system recognizes a failure in the misfire or fuel systems, the engine management system is required to record the conditions present when the fault occurred. These recorded conditions include engine speed, engine load, and warm up status of the first event that resulted in the storage of a code. These conditions are referred to as similar conditions.

Once the similar conditions are met without a failure in the misfire or fuel system, the flag is set to 1.
Once this flag is set the driving cycle counter for that failure can be decrement.

The code and stored freeze frame conditions may be erased if similar conditions are not encountered during the next 80 driving cycles immediately following the initial detection of the malfunction.

The MIL may be extinguished after three sequential driving cycles in which similar conditions have been encountered without exceeding the thresholds of the fuel system diagnostic.

Flowchart: Evaluation of the long term fuel control






Trim Control Plausibility Monitoring

Monitoring function:
The trim control plausibility monitoring detects a high deviation of the I-share of lambda trim control. If it exceeds given thresholds the malfunction is detected.

Monitoring description:






Flowchart