Curiosii for ever!
: Car repair manuals for everyone.
Home
>>
Porsche
>>
2011
>>
Panamera S (970) V8-4.8L
>>
Repair and Diagnosis
>>
Powertrain Management
>>
Computers and Control Systems
>>
Engine Control Module
>>
Testing and Inspection
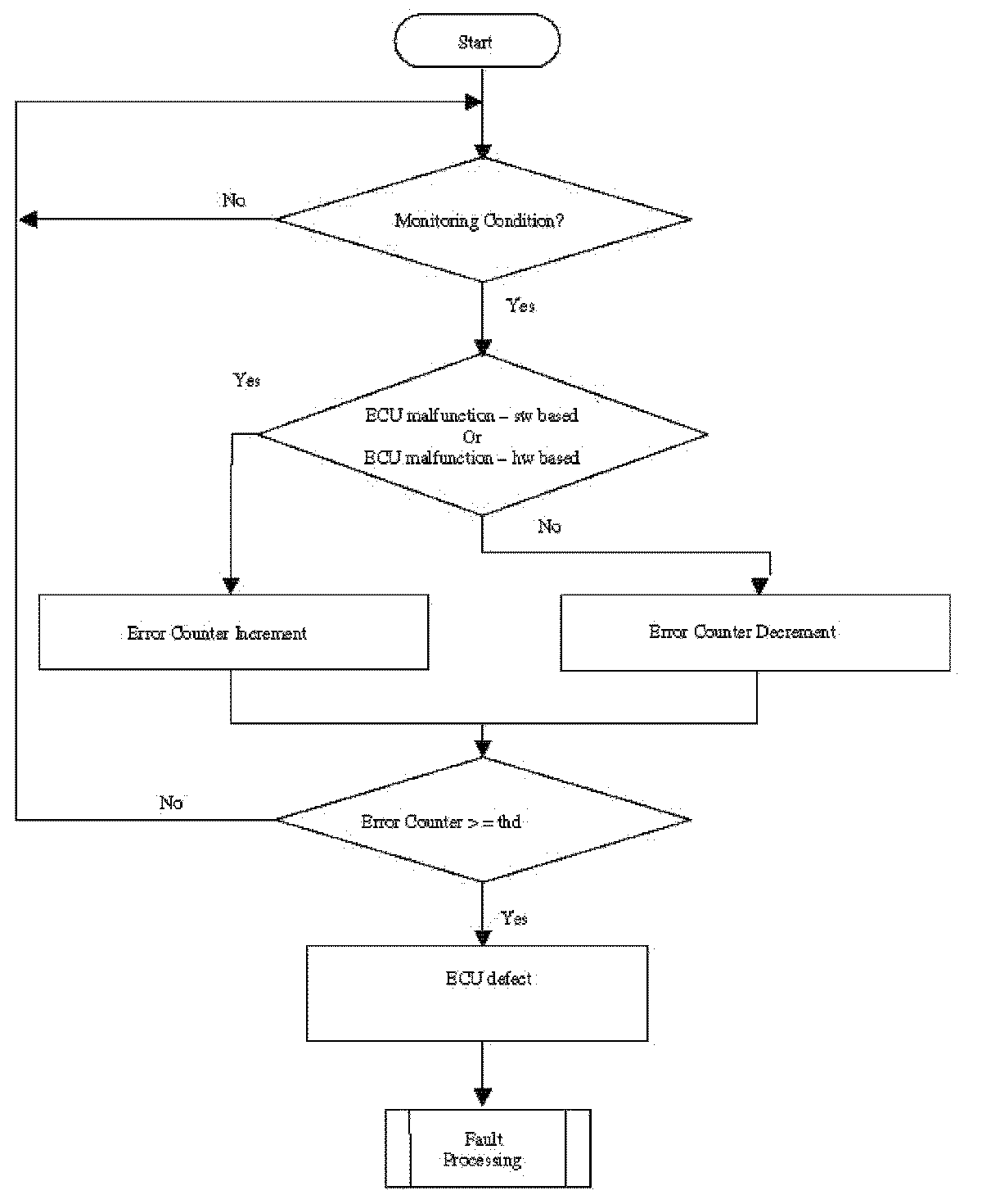
Engine Control Module: Testing and Inspection
Engine Control Unit
General Description
The purpose of this diagnosis is to detect electrical faults of the engine control unit.
Monitoring Conditions:
Ignition key on
Flow chart: ECU monitoring