Curiosii for ever!: Car repair manuals for everyone.

Accelerator Pedal Position Sensor: Testing and Inspection

Accelerator Pedal Position Sensor (APPS)

Accelerator pedal position sensor Diagnosis
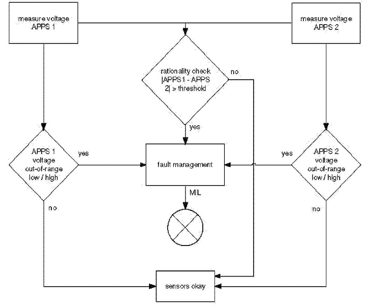
The purpose of the diagnosis shall be the detection of electrical faults and not plausible Conditions of the two sensors. Therefore the following error-checks are performed:
- Signal range check high
- Signal range check low
- Ratio check
- Double error

Accelerator pedal position sensor

Flowchart: Out of Range / Rationality check






Flowchart: Double error