Curiosii for ever!: Car repair manuals for everyone.

Ignition System Monitoring

Ignition System Monitoring

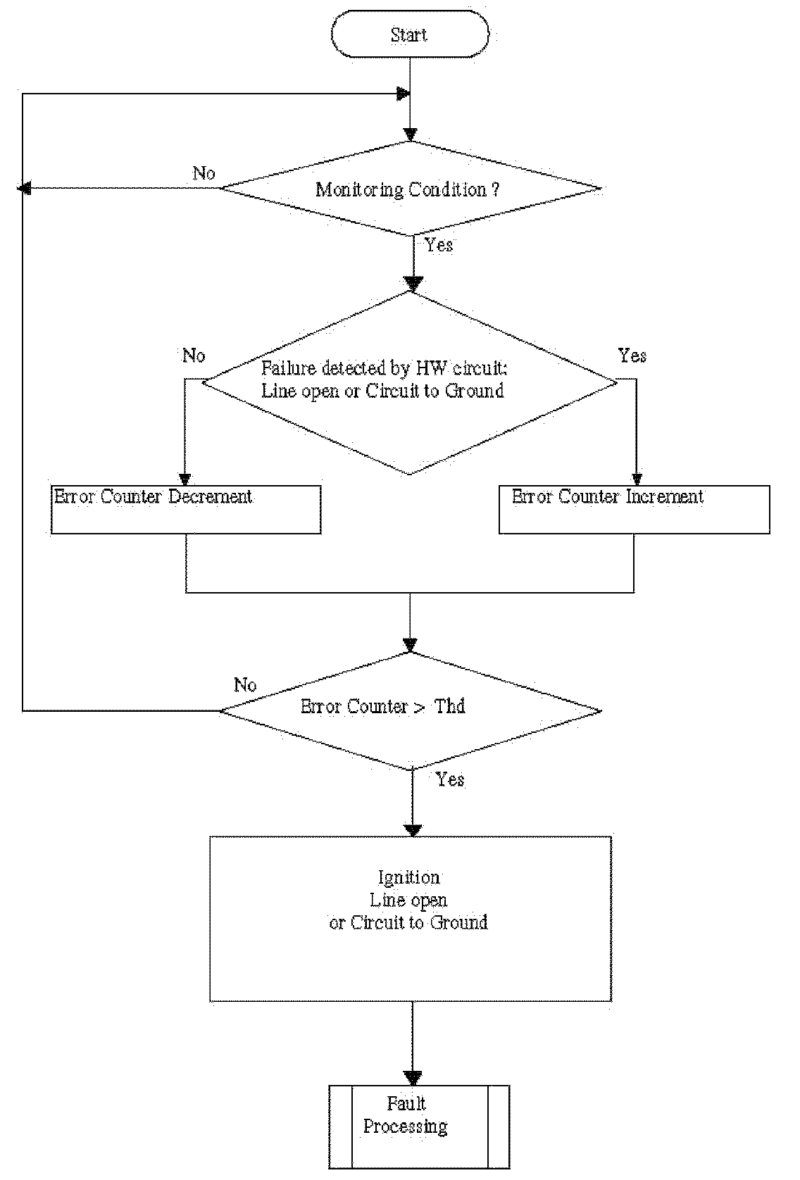
Ignition Coil Monitoring: Open line and Short circuit to ground

Description:
The purpose of this diagnostic is to check the integrity of the connection line in between ECU and coil (Open line, SCG).

Monitoring Function
The diagnosis is made with an integrated circuit which detects a failure in the command line of the ignition coils.

The following malfunctions are detected:
Short circuit to ground
Open load

Flow Chart: Ignition Diagnosis OL - SCG






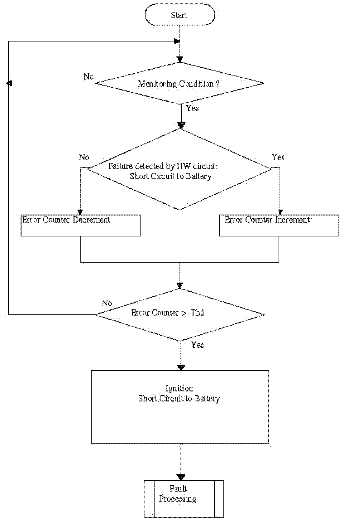
Ignition Coil Monitoring: Short circuit to battery

Description:
The purpose of this diagnostic is to check the integrity of the connection line in between ECU and coil. (Short circuit to battery)

Monitoring Function
The diagnosis is made with an integrated circuit which detects a failure in the command line of the ignition coils.

The following malfunctions are detected:
Short circuit to battery

Flow Chart: Ignition Diagnosis - SCB






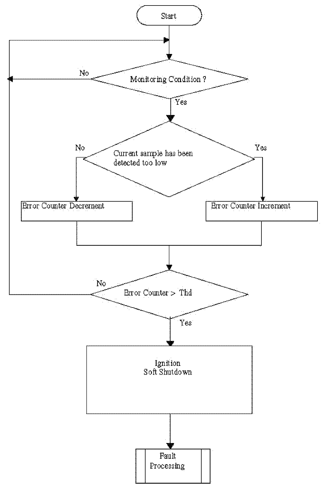
Ignition Coil Monitoring: Soft shutdown detection

Description:
The purpose of this diagnostic is to detect that coil self diagnosis has been shut-off the spark.

Monitoring Function
The diagnosis is made by an analogue acquisition of current feedback from the coil. If this current feedback is below than a calibratable threshold, soft shutdown is detected.

The following malfunction is detected:
Soft shutdown of ignition coil

Flow Chart: Ignition Diagnosis - SSDN






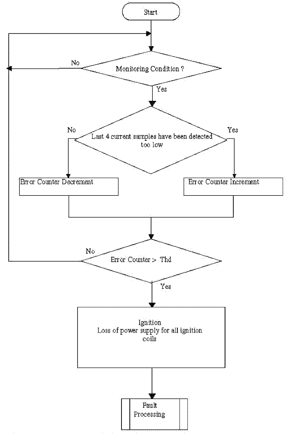
Ignition Coil Monitoring: Loss of power supply for all ignition coils

Description:
The purpose of this diagnostic is to detect a loss of power supply for all ignition coils.

Monitoring Function
The diagnosis is made by an analogue acquisition of current feedback of the coil. If this current feedback for the last 4 ignition coils is below a calibratable threshold, loss of power supply for all ignition coils is detected.

The following malfunction is detected:
Loss of power supply for all ignition coils

Flow Chart: Ignition Diagnosis - Loss of power supply for all ignition coils