Curiosii for ever!: Car repair manuals for everyone.

Part 4


WM 1001IN Tightening torques, tightening sequences and assembly overviews

Group 10, Crankcase

Information

- The main bearing screws (4WD) for the fourth main bearing (feeding through all-wheel cross tube) are shorter than those for the 2WD engine.

- Do not confuse main bearing screws!





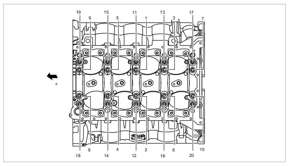
Upper part of crankcase









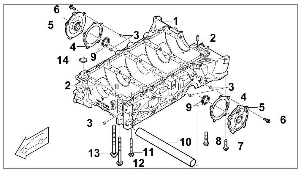
Lower part of crankcase V8 2WD









Lower part of crankcase V8 4WD









Sealant application









Tightening sequence for thrust-bearing screws









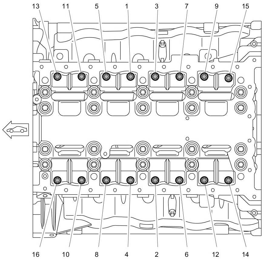
Tightening sequence for securing lower part of crankcase to upper part of crankcase (cross bolt connection)





Left bracket for auxiliary units and 2WD engine mounting









Left bracket for auxiliary units and 4WD engine mounting









Left bracket for auxiliary units and 4WD turbo engine mounting









Right engine mounting





For tightening specifications for the 4WD front-axle final drive refer to -> 398819 Removing and installing all-wheel final drive





Oil mist separator









Ventilation, naturally aspirated engines









Ventilation, turbo engines









Positive crankcase ventilation (PCV), turbo









Engine design cover





Group 13, Crankshaft belt drive

Information

Twist lock for bearing shells always on the same side.





Crankshaft









Belt drive









Piston, connecting rod









Connecting-rod assembly, bearing shells














Piston classification, turbo engine









Radial shaft seal









Pulleys