Curiosii for ever!: Car repair manuals for everyone.

Part 1


WM 1001IN Tightening torques, tightening sequences and assembly overviews

Technical values









































































Information

Information on aluminium screws and magnesium components

Information

Always follow the instructions in the central information -> when using aluminium screws and magnesium components. -> 1001IN Information on working with aluminium screws and magnesium components - IMPORTANT! Procedures

Technical values

General overview

Information

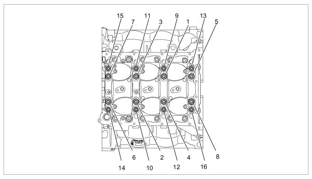
- The tightening steps in the tightening sequences relate to tightening screws uniformly, i.e. all affected screws must first be tightened uniformly to the first torque value, then all screws are tightened one stage further, and so on.

- Replace all O- rings following removal!

Information

- A differentiation between the all-wheel engine and the rear-wheel drive engine is identified by the terms 4WD and 2WD.

The torques in the table below generally apply to screws that are not specifically listed =>

The bolt quality is indicated on the screw head at the top as a decimal number, e.g. "8.8" or "12.9".





Aluminium screws




Special features and component deviations - V6

Information

Please observe the following for the V6 =>

- The repair concepts for the V6 are the same as for the V8.

- The special features and component deviations are listed and shown in -> 1001IN Tightening torques, tightening sequences and assembly overviews.

- More significant deviations are shown in separate descriptions.

- If no special features are specifically highlighted, the assembly and adjustment instructions for the V8 apply.





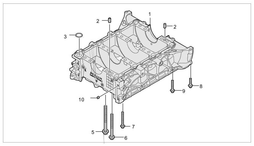
Upper part of crankcase









Lower part of crankcase, 4WD









Lower part of crankcase, 2WD









Tightening sequence for crankcase









Applying sealant to lower part of crankcase