Curiosii for ever!: Car repair manuals for everyone.

Part 1


WM 1001IN Tightening torques, tightening sequences, assembly overviews for engine

Technical values

















































Technical values

General overview

Information

- The tightening steps in the tightening sequences relate to tightening screws uniformly, i.e. all affected screws must first be tightened uniformly to the first torque value, then all screws are tightened one stage further, and so on.

- Replace all O- rings following removal!

The torques in the table below generally apply to screws that are not specifically listed =>

The bolt quality is indicated on the screw head at the top as a decimal number, e.g. "8.8" or "12.9".





Aluminium screws




Group 10, Crankcase





Upper part of crankcase









Lower part of crankcase, V8 2WD









Sealant application









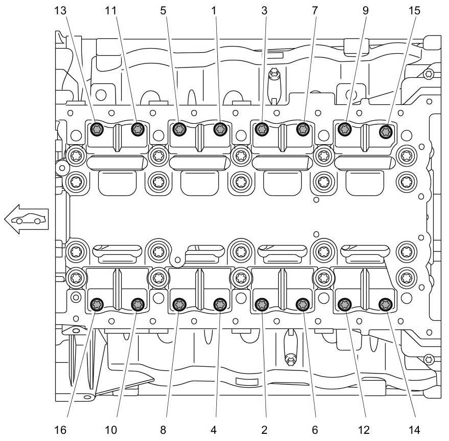
Tightening sequence for thrust-bearing screws









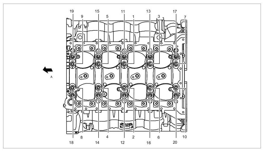
Tightening sequence for securing lower part of crankcase to upper part of crankcase (cross bolt connection)





Left bracket for auxiliary units and engine mounting









Right bracket for auxiliary units and engine mounting









Oil mist separator









Ventilation, naturally aspirated engines









Ventilation, turbo engines









Positive crankcase ventilation (PCV), turbo engine









Engine design cover