Curiosii for ever!: Car repair manuals for everyone.

Removal and Replacement


WM 201519 Removing and installing fuel level sensor

Tools





Technical values





Information

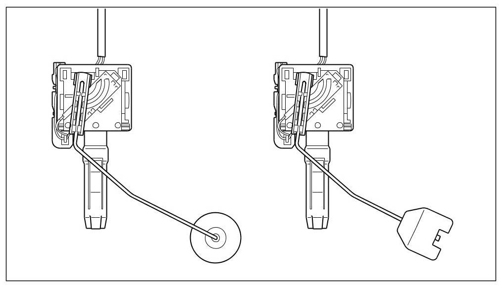
- The two senders have different shapes and may not be switched.

- The float installed in the left direction of travel is flat, while the float installed in the right direction of travel is spherical.

- The removal of both senders is explained in parallel in this description. If only one sender has to be removed, the other side of the tank can remain untouched.





Both fuel level sensors

Preliminary work

WARNING

Toxic substances

- Danger of poisoning or suffocation

-> Ventilate the work area well.
-> Never ingest or inhale.
-> Read specific information on the Hazard Sheet.
-> Wear personal protective gear.

WARNING

Highly inflammable or explosive materials

- Danger of fire or explosion

-> Avoid contact with hot parts or sources of ignition.
-> Use suction to remove ignitable vapours.
-> Attach warning sign in a clearly visible position.

Information

- Absorb any escaping fuel using a suitable binding material or a cloth.

- Cloths which have absorbed fuel must be disposed of according to the applicable national laws.

- The fuel system must be depressurised before starting work on it.

- Only work on the fuel system in well-ventilated rooms.

- Any seals which have been removed must always be replaced.

- Do not use any sealant containing silicone or silicone spray when the injection system is open. Traces of silicone drawn in by the engine are not combusted and damage the oxygen sensors.

Information

- If the tank must be opened for emptying, disconnect all connections.

1. Disconnect the battery. -> 2X00IN Work instructions after disconnecting the battery 2X00IN Work instructions after disconnecting the battery
2. Open the filler flap.
3. Drain the fuel tank if necessary. -> 200317 Draining and filling fuel - section on "Draining" Procedures
4. Remove rear seat. -> 724819 Removing and installing rear seat - section on "Removing" 724819 Removing and installing 1/3-split folding rear seat 724819 Removing and installing 2/3-split folding rear seat
5. Remove the left and right cap -arrows-. To do this, remove the carpeted floor. Then loosen the four fastening nuts and remove the cap.





Fastening nuts on caps





Left and right connection units





6. Disconnect all connections on the right connection unit. Disconnect electric plug connections.





Fuel supply and connection points at right connection unit

7. Disconnect electric plug connection on the left connection unit.





Connector for left connection unit

8. Open the left and right lock using wrench T10202 and lift up the connection unit. => Special tool on cap





Special tool on cap

Removing fuel level sensor

Right fuel level sensor





Fixing device for right fuel level sensor









Left and right connection unit





1. Disconnect all connections apart from the fuel line -3- on the underside of the right connection unit.
2. The fuel line -3- cannot be disconnected from the pressure regulator (right connection unit).





Fuel line on pressure regulator

3. Disconnect the fuel line -3- from the left connection unit.





Fuel line on left connection unit

4. Attach a piece of wire or similar item to the fuel line in order to pull the line back through the fuel tank during installation.
5. Remove the right connection unit (with pressure regulator) completely.
6. To make it easier to remove the sensor, remove the fuel pump by pulling it upwards. -> 206619 Removing and installing fuel pump - section on "Removing" 206619 Removing and installing fuel pump
7. Press the retaining spring on the sensor by hand while at the same time pulling the sensor up. => Removing fuel level sensor





Removing fuel level sensor

Left fuel level sensor





Left fuel level sensor









Left and right connection unit





8. Unplug electric plug connection -1- for the fuel filter.





Pulling off plug connection for fuel filter

9. Pull both lines -2 and 3 - off the fuel filter.





Pulling lines off the fuel filter

10. Press the retaining spring on the sensor by hand while at the same time pulling the sensor up -arrow-.





Removing fuel level sensor

Installing fuel level sensor

Right fuel level sensor
1. Install a new fuel level sensor. Press the sensor into its mounting. The retaining spring must lock with an audible click.





Right fuel level sensor

2. Install fuel pump. -> 206619 Removing and installing fuel pump - section on "Installing" 206619 Removing and installing fuel pump
3. Fit a new seal in the opening of the tank at the left and right. => Seal





Seal

4. Pull the fuel line on the pressure regulator through the fuel tank to the left connection unit using the attached piece of wire or similar item.
5. Clip in the fuel line -3- on the left connection unit.





Fuel line on left connection unit

6. Connect all connections on the underside of the right connection unit.
7. Fit the right connection unit with the pressure regulator in the tank. When doing so, make sure that the plastic lugs are pointing forward.

Left fuel level sensor
8. Install a new fuel level sensor. Press the sensor into its mounting. The retaining spring must lock with an audible click.





Left fuel level sensor

9. Fit the left connection unit with the fuel filter in the tank. When doing so, make sure that the plastic lugs are pointing forward.
10. Fit new seals in the openings on the tank. => Seal for opening on tank





Seal for opening on tank

11. Connect both lines -2 and 3 - to the left connection unit.





Plugging in lines for fuel filter

12. Plug in electric plug connection -1- until it engages securely.





Plugging in plug connection for fuel filter

13. Fit the left connection unit with the fuel filter in the tank. When doing so, make sure that the plastic lugs are pointing forward.

Subsequent work

1. Close the tank. To do this, fit the sheetmetal ring on the left and right connection unit and tighten using special tool wrench T10202. => Cap => Tightening torque: 145 Nm (107 ftlb.)+/-5 Nm (+/-3.5 ftlb.)





Cap

2. Fit all connections for the right connection unit (fuel lines, ventilation tubes and electric connectors).





Fuel supply and connection points at right connection unit

3. Plug in electric plug connection for the left connection unit.





Connector for left connection unit

4. Fit left and right lid. Then tighten the four fastening nuts on each to => Tightening torque: 10 Nm (7.5 ftlb.). Refit carpeted floor and fix in place with double-sided adhesive tape.





Fastening nuts on caps

5. Install rear seat. -> 724819 Removing and installing rear seat - section on "Installing" 724819 Removing and installing 1/3-split folding rear seat 724819 Removing and installing 2/3-split folding rear seat
6. Fill the fuel tank. -> 200317 Draining and filling fuel - section on "Filling" Procedures
7. Close the filler flap.
8. Connect the battery. -> 2X00IN Work instructions after disconnecting the battery 2X00IN Work instructions after disconnecting the battery