Curiosii for ever!: Car repair manuals for everyone.

Ignition System Monitoring

Ignition System Monitoring

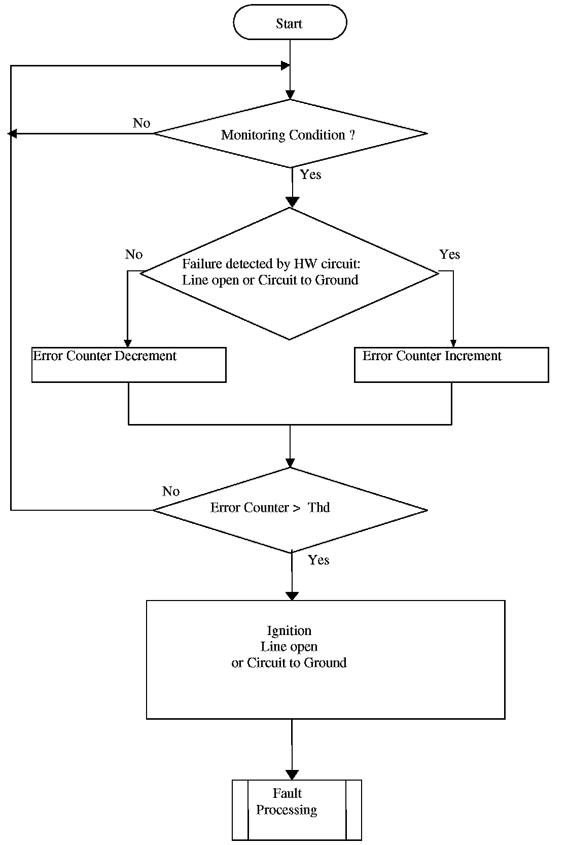
Ignition Coil Monitoring : Open line and Short circuit to ground

Description:

The purpose of this diagnostic is to check the integrity of the connection line in between ECU and coil (Open line, SCG).

Monitoring Function
The diagnosis is made with an integrated circuit which detects a failure in the command line of the ignition coils.

The following malfunctions are detected:
- Short circuit to ground
- Open load

Flow Chart: Ignition Diagnosis OL - SCG






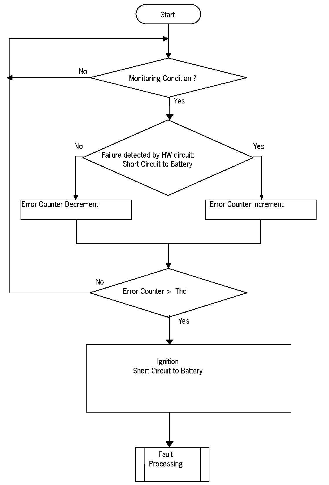
Ignition Coil Monitoring : Short circuit to battery

Description:

The purpose of this diagnostic is to check the integrity of the connection line in between ECU and coil. (Short Circuit to battery)

Monitoring Function
The diagnosis is made with an integrated circuit which detects a failure in the command line of the ignition coils.

The following malfunctions are detected:
- Short circuit to battery

Flow Chart: Ignition Diagnosis - SCB






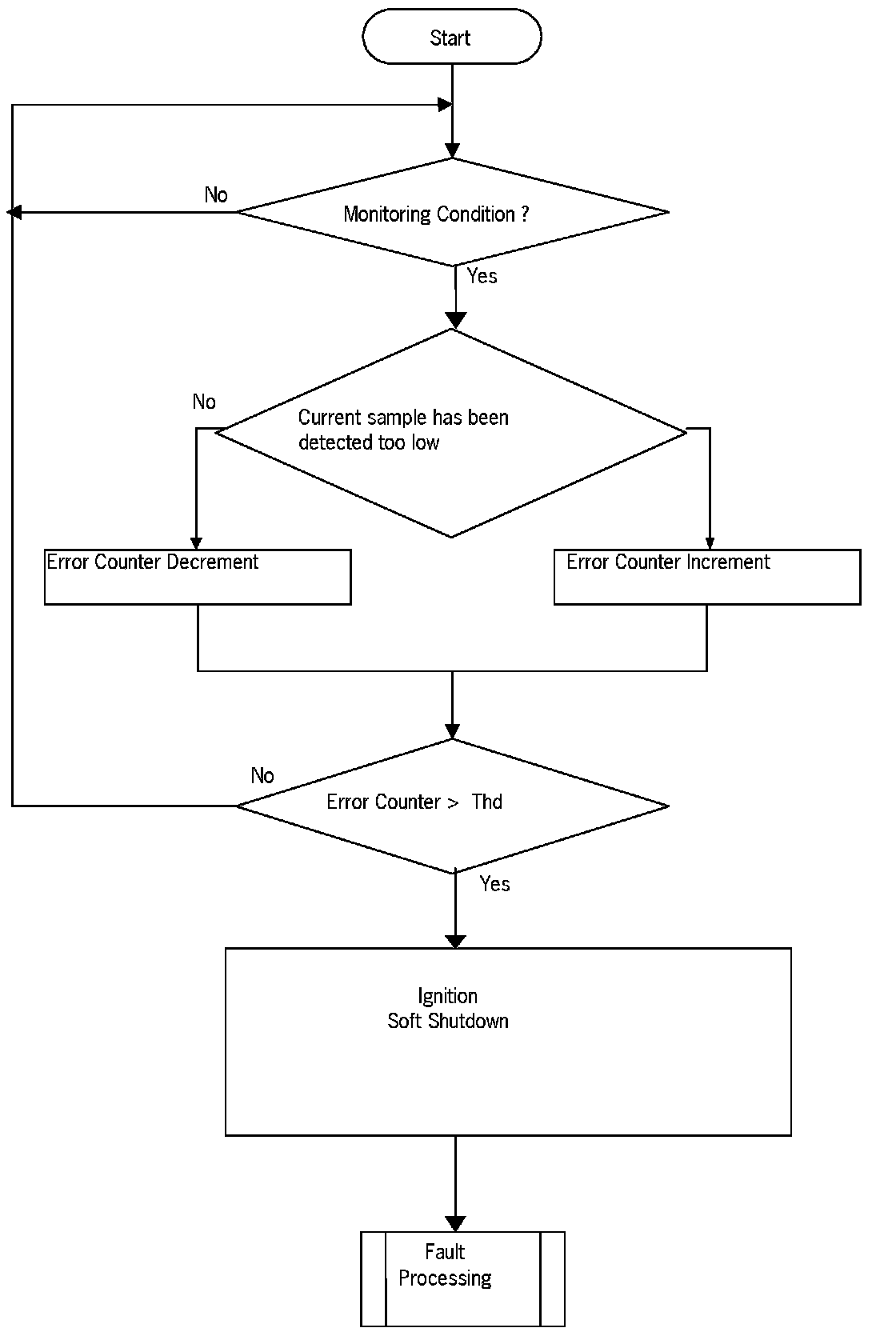
Ignition Coil Monitoring : Soft shutdown detection

Description:

The purpose of this diagnostic is to detect that coil has been cut-off without producing spark.

Monitoring Function
The diagnosis is made by an analogue acquisition of current feedback of the coil. If this current feedback is below than a calibratable threshold, soft shutdown is detected.

The following malfunctions are detected:
- Soft shutdown of ignition coil

Flow Chart: Ignition Diagnosis - SSDN