Curiosii for ever!: Car repair manuals for everyone.

Part 2


WM 1001IN Tightening torques, tightening sequences and assembly overviews

Sealant application









Tightening sequence for thrust-bearing screws









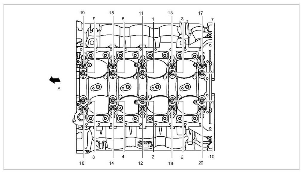
Tightening sequence for securing lower part of crankcase to upper part of crankcase (cross bolt connection)





Left bracket for auxiliary units and 2WD engine mounting









Left bracket for auxiliary units and 4WD engine mounting









Left bracket for auxiliary units and 4WD turbo engine mounting









Right engine mounting





For tightening specifications for the 4WD front-axle final drive refer to -> 398819 Removing and installing all-wheel final drive 398819 Removing and installing four-wheel final drive





Oil mist separator









Ventilation, naturally aspirated engines









Ventilation, turbo engines









Positive crankcase ventilation (PCV), turbo









Engine design cover