Curiosii for ever!: Car repair manuals for everyone.

Procedures



WM 518941 Repairing threaded bush for suspension subframe mount

Tools





Technical values





Installing repair threaded bush

Installing repair threaded bush





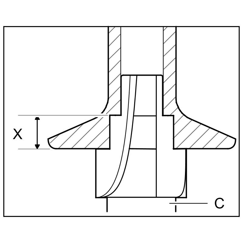
Installation position of threaded bushes





1. Drill out thread.
1.1. Drill out the old thread fully using a drill bit (contained in the set) -B-.





Drilling out thread
2. Mill in shoulder.

Information

- The repair bush must be installed recessed. To mill the required shoulder, the tool from the Porsche special tool set Time-Sert thread repair set 9395 must always be used. The commercially available Time-Sert milling tool must not be used for this!

2.1. Mill in drill hole with the spot facer -C-.

For milling, use an electronically controlled power drill set to a speed of approx. 250 1/min.
Sink the shoulder as far as required -X- until the next level on the spot facer is touching the outer sheetmetal edge.-> Test and adjustment value: 12 mm





Milling in shoulder
3. Cut the thread.





Cutting thread
3.1. Cut the thread using a cutting tool up to dimension -Y- in the chassis bushing. -> Test and adjustment value: 40 mm
3.2. Clean the thread on the chassis bushing (blow it out).
4. Position the threaded bush on the screw-in tool.
4.1. Clean the thread on the bush and screw-in tool.
4.2. Oil the screw-in tool -E-.
4.3. Screw the threaded bush -A- onto the screw-in tool -E- by hand.





Positioning threaded bush on screw-in tool
5. Screw in threaded bush.
5.1. Screw in the threaded bush -A- fully using the screw-in tool -E-.





Screwing in threaded bush
6. Press threaded bush.

Information

- While pressing in the base thread, a noticeably larger amount of force on the screw-in tool is required to form the internal thread. Pressing is finished when the screw-in tool can be turned further more easily.

6.1. Form and press the threaded bush by turning further with the screw-in tool -E- in the base thread.





Pressing threaded bush
7. Unscrew the screw-in tool -E- from the threaded bush.





Unscrewing screw-in tool

-------------------------------------------------------------------------------

970110, 970111, 970120, 970121, 970130, 970131, 970410, 970411, 970420, 970421, 970430, 970431, 970440, 970441, 970140, 970141, 970450, 970451

Model year as of 2010
C00, C02, C05, C07, C08, C09, C10, C11, C12, C13, C14, C15, C16, C18, C19, C20, C21, C22, C23, C24, C25, C26, C27, C28, C32, C33, C34, C35, C36, C37, C38, C39, C45, C46, C98, C99