Curiosii for ever!: Car repair manuals for everyone.

Part 2

OXYGEN SENSOR MONITORING

Monitoring Structure






Fuel trim monitoring






Plausibility Monitoring (Primary oxygen sensor's offset check)






Heater Coupling Monitoring (LSU, Oxygen Sensor Upstream Catalyst)






Dynamic Monitoring (Oxygen Sensor Upstream Catalyst)






Swapped Sensors Check (Oxygen Sensor Upstream Catalyst)






Electronic defect






Oscillation Monitoring (Oxygen Sensor Downstream Catalyst)






Fuel Cut-Off Monitoring (Oxygen Sensor Downstream Catalyst)






Oxygen Sensor Circuit Monitoring






Dynamic Monitoring (Oxygen Sensor Downstream Catalyst)

Response time monitoring:






Dynamic Monitoring (Oxygen Sensor Downstream Catalyst)

Transient time monitoring:






Oxygen Sensor Heater Monitoring
For proper function of the Oxygen sensors, their ceramic elements must be heated. A non-functioning heater delays or prevents either the sensor readiness (LSU) or the proper signal output (LSF1) for closed loop control and thus influences emissions.

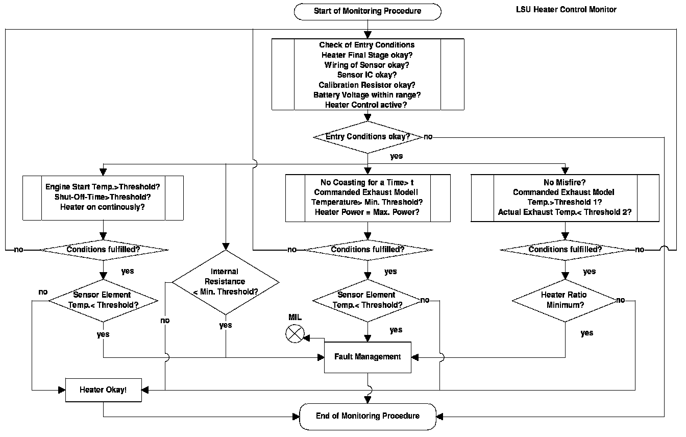
Oxygen sensor upstream catalyst (LSU)
The heater control loop is integrated within the oxygen sensor hardware and has to achieve a target temperature of about 750 °C of the ceramic element.
By monitoring the power stage an electric fault of the heater line (short cut to UB, short cut to ground, broken line) will be detected.

Oxygen sensors downstream catalysts (LSF1)
For diagnostic of the sensor heater a specific current pulse is supplied via a load resistance and the voltage is measured. The intern resistance of the sensor heater is calculated with the voltage deviation. The result will be compared with a reference map resistance, which considers aging and sampling deviations. In case of internal resistance > map resistance the diagnosis stores a fault and the MIL will be illuminated.
By monitoring the power stage an electric fault of the heater line (short cut to UB, short cut to ground, broken line) will be detected.

Monitoring Structure(Oxygen sensor upstream catalyst)

Power Stage (final stage)






Heater Control Loop






Characteristics: -Switch on of sensor heater is ECM controlled

Monitoring Structure(Oxygen Sensor Downstream Catalyst)

Power Stage (final stage)











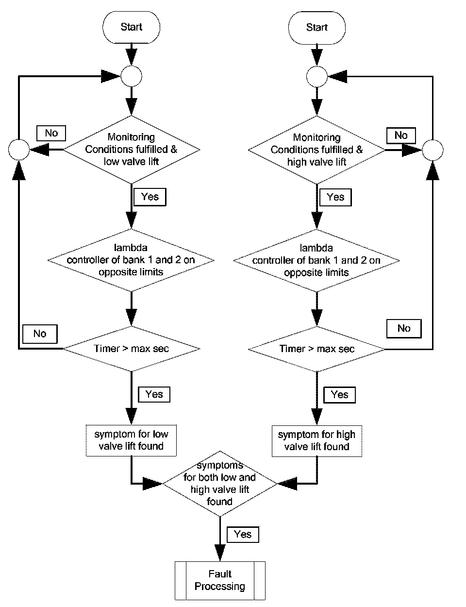
Flow Chart (LSU, Oxygen Sensor Heater Control Upstream Catalyst)






Flow Chart (Oxygen Sensors downstream catalyst)






Delay detection:
The following description applies to the new Bosch software (Delay) beginning in MY 2009.

Oxygen Sensor Monitoring
Primary linear HO2S delayed Response monitoring
System documentation reference: P0133, P0153.


General information:
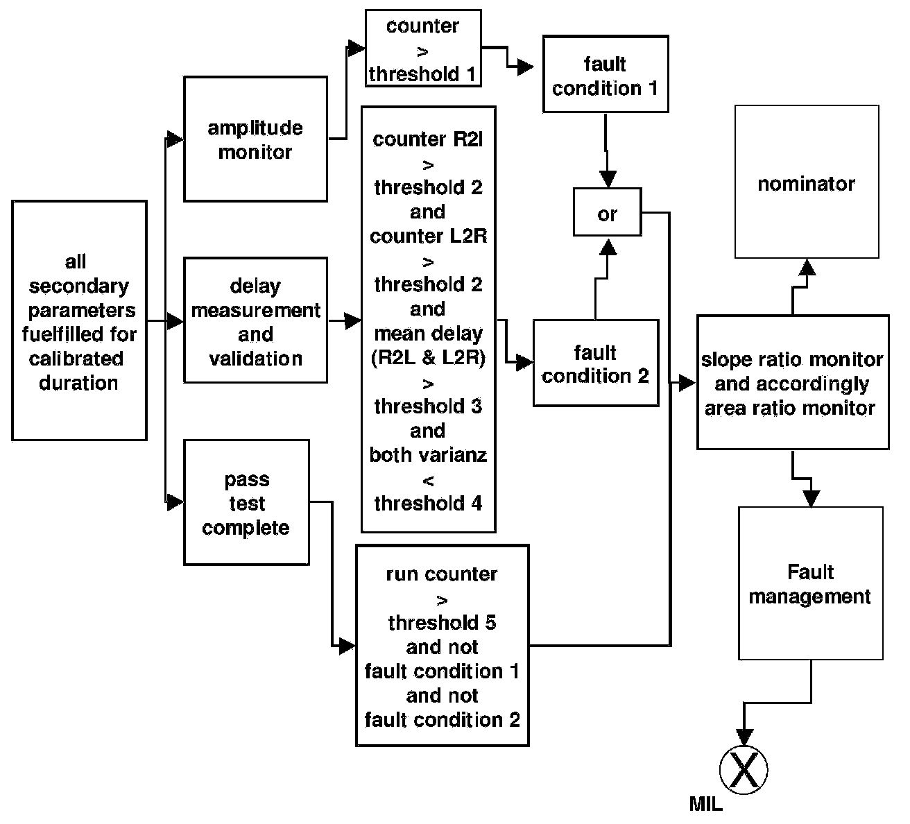
Pure delay is not known as a fault mode of a wideband O2S, but the detection of a pure delay is required by regulation. A delayed response could affect the catalyst diagnostic and lead to higher emissions. Therefore this additional function monitors the HO2S Response. The monitor is performed once per driving cycle as long as the enable conditions are met and consists of two parts of monitors. The Amplitude Monitor and the Delay Measurement monitoring function. These partial functions of the Response Rate Monitor are designed strictly for symmetrical delay recognition (both slopes R2L and L2R are influenced).
The diagnostic function is executed when the lambda control is in closed loop operation and enable conditions are met.
The engagement of the lambda control causes, during delayed reaction of the Front O2S, greater lambda deviations in rich and also in lean direction. This causes higher emissions and an increased load on the catalyst. The extent of the controller oscillations depends on the type of lambda control strategy and the calibration of the controller parameters (Proportional and Integral- Portion). In both diagnostic paths, the oscillation of the lambda control is observed and evaluated. The results of this monitor are read and further processed in the slope ratio or area ratio monitor.

Figure 1:






Diagnostic Enable Conditions

Enable Parameters
- Linear HO2S ready for operation
- Linear sensor pumping current open circuit monitor completed without fault
- Primary control loop status: closed loop
- Setpoint of primary control loop: [] = 1
- Engine speed is within a calibrated range (typical range: ~1100-5000 rpm)
- Engine load is within a calibrated range (typical range: ~15-80%)
- Slope of engine load is less than a calibrated threshold ((typical value:~3% / period of time)
- Primary HO2S delayed Response monitor is not completed in the actual driving cycle
- Forced lambda modulation is higher than a calibrated threshold (optional parameter) (typical value: 0.01-0.03)
- Nominal time constant of the lambda control is within a calibrated range (typical range: ~0.0-1.5s)
- Primary control loop limits are higher than a calibrated threshold (typical value: ~1±0.15-0.25)
- Canister purge is not active (optional parameter)

Signal Evaluation / Validation (only Delay Measurement)
For a robust monitoring function (Delay Measurement) the HO2S signal needs to meet the following conditions to ensure a certain level of signal quality:

- The measured time delay between target and actual signal is not greater than an applicable time threshold (typical value: ~1-2.5s)

Figure 3:






- The time difference between expected and actual signal is greater than an applicable time threshold (typical value: ~0.25-1s)

Figure 4:






- The variance (statistics: relative variance) of every measurement necessary for fault detection is less than a calibrated threshold (typical value: ~0.02-0.1)
- Time period (figure 5: t1..t4) between recognised maximum or minimum values and their confirmations is within a calibrated range (typical range: ~0.02-2s)

Figure 5:






Figure 6:

Functional Schematic Diagram 1






Functional Schematic Diagram 2






1. Monitoring of the controller amplitude

Definition
The amplitude monitor evaluates the amplitude of the lambda control output.
The control oscillation recognition is robust and relatively simple; however, it can only recognise a large time delay, which leads to high oscillations of the lambda control.
In order to recognise highly oscillating control, the control value of the lambda control must mutually reach or exceed either the lower and upper limit or the applicable lower and upper thresholds for an applicable time.

Figure 7:






Strategy of amplitude monitor
If the enable conditions are met, the measured value of the amplitude monitor is valid. In order to avoid misdetection from, for example, disturbance by load alternation, the thresholds must be calibrated at a relatively high values (typical value: lean~ 1.18; rich~ 0.82). For this reason a robust fault detection below a minimal control deviation is not possible. Furthermore, the time, which stuck the control factor at its limits or over the calibrated thresholds, must be greater than a calibrated time threshold (typical value: ~ 0.1-0.5 s).
If the Lambda control output exceeds the threshold in the direction R2L or stucks at a limit for the required amount of time, the threshold or the limit must achieve the opposite direction (L2R) for the required amount of time. Then an error counter is incremented. The thresholds are expected to always be reciprocally exceeded, which means that if the rich threshold is exceeded, then the lean threshold must be exceeded. Otherwise the rich counter will not be further incremented.
If the error counter exceeds a calibrated threshold (typical value: ~ 5-15) a fault will be detected.

2. Delay measurement monitor

Definition
If the enable conditions are met, the measured value of delay measurement is valid.
As described above, only greater delays can be recognised by the amplitude monitor, which lead to relatively strong control oscillations. In many concepts, the notifiable emissions or disabling of other diagnoses are achieved with considerably lower control oscillations. It is necessary also clearly detect lower signal delays. For this purpose, the time delay between the expected signal and the actual measured signal is evaluated.
This is only feasible when the basic conditions for enabling are further delimited and the actual time delay between the expected and measured sensor signal is precisely enough determined. As with the amplitude monitor, a minimum oscillation of the lambda control is necessary for this monitor.
In order to not mistakenly attribute the effects of general driving characteristics (influence of driver behavior and terrain profiles) and disturbance of the lambda signal, a variance evaluation is required of each measurement value. A delayed signal course will appear in a relatively constant size, therefore, greatly different measurement results are to be considered erroneous measurements.

Figure 8:






Strategy of delay measurement
The measured lambda signal is made unbiased with a band pass filtering and released from high-frequency noise.
The expected lambda signal is calculated from the position change of the lambda control, therefore, from the value to which the lambda modulation (forced amplitude) is to be added. In accordance with the system model, the control factor of the lambda control is first delayed, and then filtered and inverted via a low pass filter with time constants. In order to ensure the comparability between expected and measured lambda signal, the parallel band pass is used on the measured lambda signal.
An exact measurement of the delay time is not always possible, it is recommended to first evaluate it from an applicable minimum amplitude (typical value: ~0.03-0.08) of the filtered measured and expected signal. If the threshold value is exceeded, a time measurement begins and the corresponding maxima (rich) or minima (lean) is determined for the expected and measured signal. The time measurement is triggered after the maxima or minima of the expected and measured signal is reliably recognised. A minimal signal change in the opposite direction is required (secure recognition of the turning points in the signal courses).
Based on the difference between measured and expected maxima or minima, the current minimum or maximum delay time is calculated. After validation (see validation) of both delay times has been carried out, a counter is incremented for each time delay. If the required minimum number of individual measurements is reached, then the variance of every measurement is checked.

Validation of delay measurement
After each measurement of the maximum or minimum signal delay, the new measured value is checked for validity. The time between maxima or minima must be greater than an applicable time threshold (typical value: ~ 0.02- 0.05 s) and less than a second, calibrated time threshold (typical value: ~1-2s). The time difference between creation of the expected and measured maxima or minima must be greater than an applicable time threshold (typical value: ~0.5-1.0 s). Additionally, the established delay time may not exceed a max. applicable threshold (typical value: ~2.5 s). A delay greater than this threshold will be securely detected by the previously described amplitude monitor.

The measurement of the signal delay between the expected and measured signal can be falsified by the following faults:

- The expected maxima / minima come after the measured maxima / minima. For example, due to inaccuracies or tolerances in the parameters of control travel. The lambda sensor has no delay in this case. However, the time interval between the expected maxima / minima and the subsequent measured maxima / minima across two periods is measured, thus yielding a very high value.
- At the moment that the measured lambda signal would have a maxima / minima, a disturbance occurs according to lean / rich, which allows the lambda signal to further rise / fall and thus moves the maxima / minima back. The measured time delay is then too great.
- A disturbance causes the maxima / minima in the measured lambda signal to be deleted. The time difference is then incorrectly turned into the following (actually next but one) measured lambda signal and the measured time delay is too great.
- In a system with a delay fault of the front linear O2S, a disturbance occurs in the measured lambda signal shortly after an expected maxima / minima, which causes a small inter maximum/- minimum. The measured time delay is then too small.
- The signal course has no distinct maxima (for example, plateau in the signal course), therefore, the time mark and, thus, the measured time delay will be relatively random.

Figure 9:






Figure 10:






Conditions for test complete






Fault determination:






Conditions for Incrementing the Numerator
The calculation of numerator complete is performed by slope ratio monitor or area ratio monitor (see slope ratio monitor and corresponding area ratio monitor description).

Conditions for Incrementing the Denominator
The denominator is incremented if the standardized conditions are met within the actual driving cycle and the monitor is not inhibited due to previously stored faults or faults detected on the sensors necessary to determine the denominator itself.

Flow charts:

Figure 11:






Figure 12:






Figure 13: