Curiosii for ever!: Car repair manuals for everyone.

Part 1

OXYGEN SENSOR MONITORING

General Description
The Lambda control consists of a linear Oxygen sensor (LSU) upstream catalyst and one Oxygen sensor downstream front catalyst and post main catalyst. The control loops downstream catalysts correct deviations of the upstream oxygen sensor (LSU).
All sensors are monitored by several single monitoring procedures under the following basic conditions.

The following checks will be performed on the linear oxygen sensor (LSU) upstream catalyst:

Plausibility Check
Any deviation from the characteristic curve of oxygen sensor upstream catalyst due to poison, ceramic cracks, characteristic shift down (CSD) or a leakage will be detected. The diagnostic function monitors the integral component of the fuel trim controller, which when filtered over time represents an offset in the characteristic curve of the primary oxygen sensor - see Figure 1. The offset of this characteristic curve is itself determined by deviations in trim control and the set point value of the downstream lambda controller.






An unacceptable shift in the primary oxygen sensor's characteristic curve indicates either a fuel trim fault or a faulty primary oxygen sensor.

General monitoring conditions
All of the following monitoring conditions must be satisfied for all checks:
- the secondary oxygen sensor diagnosis has been performed and no malfunctions were detected
- the secondary oxygen sensor's power stage diagnosis has been performed and no malfunction was detected
- the voltage diagnosis of the primary oxygen sensor has been performed and no faults where detected
- the exchanged secondary oxygen sensors check (e.g. bank 1's secondary sensor mistakenly mounted in bank 2) has been performed and no faults was detected
- the aging diagnosis of the secondary oxygen sensor has been performed and no malfunctions were detected
- the oscillation check of the secondary oxygen sensor has been performed and no malfunction was detected.






Fuel trim faults
If all monitoring conditions for fuel trim faults are fulfilled, a maximum or minimum fault indicating a fuel trim error will be set when the offset respectively exceeds the calibrated fuel trim maximum threshold in the lean region or undershoots the fuel trim minimum threshold in the rich region.

Monitoring conditions for fuel trim faults
- all general monitoring conditions have been fulfilled
- either no fuel trim faults exist at the end of engine start
- or fuel trim control must have been cumulatively active for more than calibrated amount of time(necessary only for fault confirmation i.e. MIL on).

Primary oxygen sensor offset
A plausibility or signal fault indicating an offset error will be set when the offset respectively exceeds or undershoots a maximum (offset max.) or minimum (offset min.) calibrated threshold.

Monitoring conditions - primary oxygen sensor offset
- all general monitoring conditions have been fulfilled and
- either no primary oxygen sensor rationality fault had been set at the end of engine start
- or a calibrated number of A/F mixture changes has been achieved.

Clearing fault paths
All fault paths are cleared when the monitor has been active and neither a fuel trim nor a primary oxygen sensor fault has been detected.

In-use monitor performance ratio (IUMPR)
The incrementing of the numerator, the denominator, and the ratio calculation for the primary oxygen sensor's rationality monitor is executed by the IUMPR kernel function. The diagnostic reports to the IUMPR kernel function via status flags - see the description of the IUMPR kernel function.

Conditions for incrementing the denominator
As long as no inhibiting faults are present the rationality check diagnostic instructs the IUMPR kernel function via a status flag to increment its denominator once per driving cycle if the general driving cycle conditions are fulfilled. No additional physical conditions are considered for incrementing the denominator of the rationality monitor.

Conditions for incrementing the numerator
The numerator is incremented once per driving cycle:
- when either a minimum or maximum fault is detected or
- when a faulty primary oxygen sensor could have been detected by the offset check i.e. the monitor successfully runs and terminates without detecting a fault (clearing of the fault path).

Heater Coupling Check
This monitoring function will detect any short circuits between sensor heater and the Nernst cell of the Oxygen sensor by watching the Lambda signal. The Lambda value variation is checked by the ECM. The heater is operated by a pulsating signal with a frequency of two Herz. The sensor signal characteristic is checked for noises with a significant level and a frequency of the heater operation. If the level of noises is greater than a threshold, a low resistance short-cut between heater and pump current or the current of the Nernst cell is detected.

Primary oxygen sensor response rate monitoring
Aging and contamination of the primary oxygen sensor may slow down the sensor's response rate. A dynamically slow signal of the primary oxygen sensor can lead to increased exhaust-gas emissions. This continuous diagnostic function monitors the response rate of the primary oxygen sensor and is performed whenever the monitoring conditions are met. The monitoring design is able to detect different fault cases including symmetric and small delay malfunctions of the primary oxygen sensor. The functional property to detect small delay malfunctions (e.g. < 350ms) is parallel used to the specialty delay function. See "Delay Detection in Part 2". Part 2

General description
This diagnosis is based on a passive procedure of the primary oxygen sensor response rate monitoring. Passive in this connection means that only the fuel steps caused by the forced amplitude of the lambda control are evaluated for monitoring purposes. There is no intrusive demand for any additional or specific amplitude.
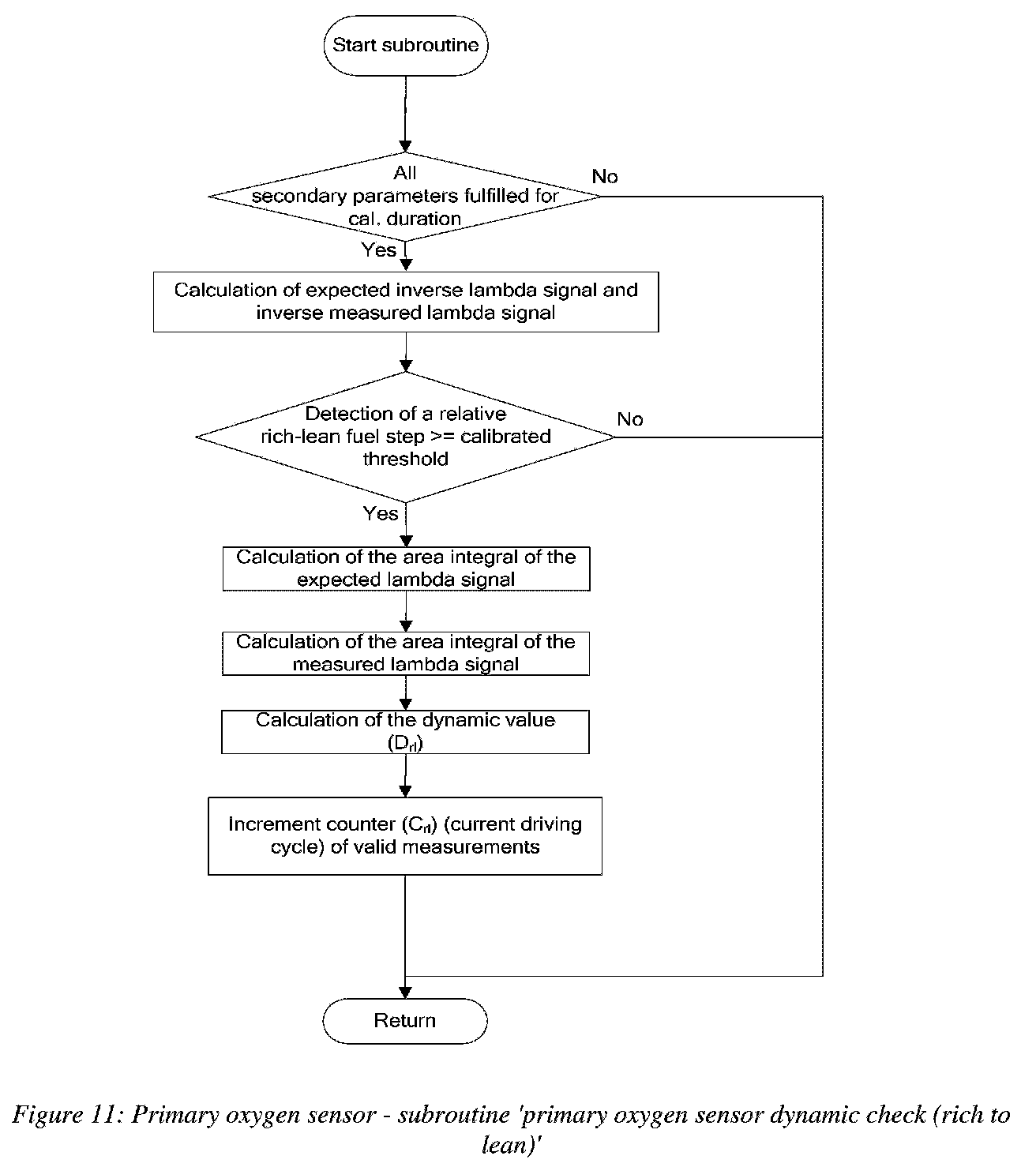
To determine the response of the primary oxygen sensor, the diagnosis evaluates operating points with lambda control forced changes in the injected fuel quantity. When such an event occurs, the inverted measured lambda signal is compared to the inverted expected lambda. For monitoring purposes, the area between the inverted lambda signal and a horizontal line through the start value (depends on a calibrated level from the maximum of the expected or measured lambda signal) is determined over a certain period of time for both the expected and the measured signal. Thereby, the inverted expected lambda signal is a simulation of the forced amplitude. The lambda signal is inverted because the sensor signal output is linear with respect to inverted lambda (rather than with respect to lambda). If areas were calculated for the lambda signal, noise effects would increase due to disadvantageous numerical error propagation.






Calculation of the area integrals:






The observation window is activated once the fuel step is set and a defined time period has passed. This time period is defined by 0.8 multiplied with the operating point dependent time delay plant parameter of the lambda control. The observation window is deactivated with the subsequent fuel step.

The quotient of measured and expected area is computed. For a nominal primary oxygen sensor the resulting dynamic value is close to 1. A lower result value indicates a slow sensor (Figures 1-2).






To detect the fault cases, both slopes lean to rich and rich to lean are influenced.

The fault cases consist of transition-time faults (slow response of the lambda sensor signal gradient with respect to the gradient of the real lambda value) and response-time faults (delayed response of the lambda sensor signal to lambda changes).


Overview of the fault cases:
A diagnostic result is calculated only if the number of individual measurements is greater than or equal to a calibrated threshold. If this happens the diagnosis checks whether a direction-specific result shows a fault. Once this calibrated threshold is reached, the result value is evaluated.











Fault detection:
If the calculated dynamic value of one of the checks is below a calibrated threshold and the corresponding counter of valid measurements is above a calibrated threshold a DYLSUmin fault will be set.

Secondary parameters
- Primary oxygen sensor is ready for operation
- Engine speed lies within a calibrated range
- Engine load lies within a calibrated range
- Sum of relative fuel mass transition compensation and relative fuel part of the purge control is below a calibrated threshold
- Ceramic temperature of the primary oxygen sensors exceeds a calibrated threshold
- Diagnosis of primary oxygen sensor wire bond IP, electrical check is finished
- Modeled, forced amplitude for primary fuel control system is active
- Fuel system status is not deceleration fuel cut-off
- No inhibit by other diagnostic present - see attached Inhibit Table
- Relative value of change of engine load per 100 ms lies below a calibrated threshold
- Lambda actual value is within a calibrated range
- Diagnosis of secondary air system not active
- All conditions above must be fulfilled for a calibrated period of time

In use monitoring performance ratio (IUMPR)
The incrementing of the numerator, the denominator and the ratio calculation for the response rate monitor of the primary oxygen sensor is executed by the IUMPR kernel function.
Like all monitors for which a standardized track and report of the in-use performance is required, the primary oxygen sensor response rate monitor reports to the IUMPR kernel function via status flags - see the description of the IUMPR kernel function.

Conditions for incrementing the numerator
The numerator is incremented, once per driving cycle, when a defective primary oxygen sensor is detected or could have been detected. Explicitly when the primary oxygen sensor monitor was released for a sufficient duration according to the enable conditions and:






This calibrated minimum is corresponding to the number of valid measurements, necessary for checking a malfunctioning system to compensate for different time durations for passing and failing systems.






Conditions for incrementing the denominator
The denominator is incremented, if the monitor is not inhibited due to stored faults, when the general denominator conditions have been fulfilled for the current driving cycle.

Flowcharts
















Check for Sensor at ambient air (out of exhaust system)
Under the condition of active injection valves and a Lambda value of less than 1.6, a voltage significant < 4.2 V is expected at the self-diagnostic IC of the LSU.

Upstream Oxygen Sensor - Swapped Sensors Check
This function will detect if the Oxygen Sensor wire harness has been cross connected, i.e., Bank 1 with Bank 2. This is performed by the use of the output of the fuel correction (lambda controller) of each bank. If this control is on opposite limits at bank 1 and bank 2, the sensors are swapped and the corresponding fault code is stored.
For a successful detection of the error, the symptom must have been detected in both high and low valve lift mode.

Wire and IC-Check
The hardware of the Oxygen sensor consists of an IC (CJ 125) with the capability of self-diagnostics. The self-diagnostic functions of the IC detects communication faults between ECM and the sensor, insufficient voltage supply, shorts in the sensor lines to ground and to battery. An interruption of the four wires (signal IP, ground VM, reference voltage, compensation IP) can be diagnosed separately.

Electronic defect
The lambda control is disabled only after an error detection and storage. In numerous operating point windows, it is not always possible to detect a defective component immediately but because of the symptoms, the closed loop control is not allowed to operate any longer. Therefore, a general electrical error will be set if the following conditions are valid:

- The ceramic temperature falls below a certain threshold during normal engine operation
- one of the relevant probe signal lines is interrupted
- there is an error at the heating control

The exact source of a fault will be detected afterwards with a special diagnosis and documented through a second fault code storage in the fault memory. There are two possibilities for the second error entry:

- a cable line error
- heating error at the front sensor

The following checks will be performed on the oxygen sensor downstream catalyst:

Oscillation Check
The function checks whether the sensor output voltage of oxygen sensor downstream catalyst always remains above or below a specified threshold.
If the rear closed loop lambda control, which uses the sensor signal of the rear lambda sensor, is active the lambda sensor voltage must cross a threshold at least once within a specified period of time (approximately 65 seconds).






Fuel cut off Check
During coasting, the ECM is watching the downstream sensor voltage, which has to go under a specific lean threshold. The diagnostic is enabled if coasting was detected for a specific time and the integrated air mass exceeds a specific threshold.

Oxygen Sensor Circuit Monitoring
Monitoring of electrical errors of sensor upstream and downstream catalyst

The diagnostic function is performed if the temperature of the downstream catalyst exceeds the dew-point for more than a given period. This means the sensor heating of the downstream catalyst is turned on for this time with active lambda control, if the exhaust gas temperature of the downstream catalyst is below a certain threshold and the battery voltage exceeds a certain threshold.

If the sensor voltage of the downstream catalyst remains within the plausible voltage range for longer than a given time, a wiring interruption or defective sensor heating element assumed.

If the internal resistance (Ri) of the sensor exceeds a certain threshold while the modeled catalyst temperature is greater than a certain threshold, then a wire interruption of sensor ground is assumed.

If the voltage of the sensor of the downstream catalyst is continuously above the maximum value threshold for longer than a given period, then a short circuit of the sensor signal wire to battery voltage is assumed.

If the sensor voltage of the downstream catalyst lies below the threshold without interruption for longer than a given period with active lambda control, switched off secondary air and secondary air diagnosis, no secondary air system and canister purge system failures, then a wire-to-wire short circuit between sensor signal and ground lead is assumed.

An influence from the sensor heater to the sensor signal will be detected.

Signal Dynamic Check During Fuel Cut-off
The function checks the sensor signal dynamic activity during coasting conditions during fuel cut-off (sensor response time / sensor transient time).

Enable Conditions for response and transient time diagnosis
- rear oxygen sensor active
- fuel cut off active
- mod. exhaust gas temperature above a calibrated threshold (e.g. 400 °C)
- Engine air mass flow is above a calibrated threshold (e.g. 10 kg/h)
- Engine air mass flow gradient is under a calibrated threshold (e.g. 30 kg/h)
- Relevant error flags not set
- Purge valve diagnosis ready (optional parameter)

Response time monitor:
The diagnostic function is performed if the rear oxygen sensor voltage is above a certain threshold in the trim control set point range (e.g. 550mV). With start of a fuel cut of phase a timer starts from fuel cut off active to the rear oxygen sensor voltage is below an applicable threshold (e.g.150mV). The timer result is the rear oxygen sensor response time. A malfunction is detected if the response time is above the applicable time threshold (e.g. 2-3sec).






Transient time monitor:
The diagnostic function is performed if the rear oxygen sensor voltage is above a certain threshold in the trim control set point range (e.g. 550mV). With start of a fuel cut of phase a timer starts from upper sensor voltage threshold (e.g. 400mV) to lower sensor voltage threshold (e.g. 200 mV).The timer result is the rear oxygen sensor transient time. A malfunction is detected if the transient time is above the applicable time threshold (e.g. 0,35 - 0,4 sec).